Handleiding
Je bekijkt pagina 19 van 52

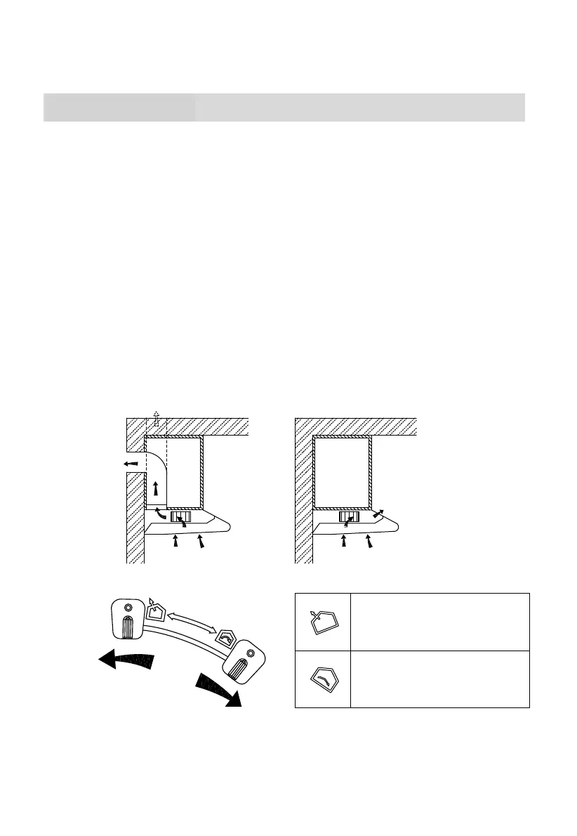
Extraction-air mode: Turn
the venting knob here
means venting outside
Circulating-air mode:
Turn the venting knob
here means recirculation
INSTALLATION
Before installing your wall canopy:
Please read the instructions carefully.
Unpack the canopy and check that all functions are working. Ensure
that the
voltage (V) and the frequency (Hz) indicated on the serial plate
match the
voltage and frequency at the installation site.
Check that the area behind the installation surface to be drilled is clear
of any
electrical cables or pipes, etc.
The stainless steel and glass surfaces of the canopy are very easily
damaged
during installation if grazed or knocked by tools. Please take
care to protect
the surfaces during installation.
Protect the cooktop surface below with cardboard, or the like, to
prevent
damage occurring whilst the wall canopy is being installed
above.
The manufacturer shall not be liable for failure to observe all safety
regulations in force for the correct and normal operation of electrical parts.
Choose a venting mode:
Extraction-air mode Recirculation mode
Venting knob position
19
Bekijk gratis de handleiding van Brandt BHC6601X, stel vragen en lees de antwoorden op veelvoorkomende problemen, of gebruik onze assistent om sneller informatie in de handleiding te vinden of uitleg te krijgen over specifieke functies.
Productinformatie
| Merk | Brandt |
| Model | BHC6601X |
| Categorie | Afzuigkap |
| Taal | Nederlands |
| Grootte | 5885 MB |

