Advantech WISE-750 handleiding
Handleiding
Je bekijkt pagina 18 van 44

WISE-750 User Manual 12
3.3 Signal Connection
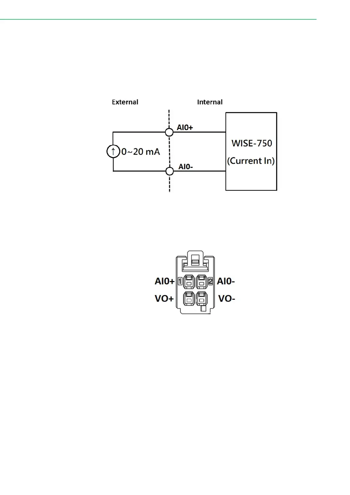
3.3.1 Analog Input
The WISE-750 accepts 0~20mA current input. The sensor PCL-M10 packed along
with the WISE-750 follows the specification and can be connected to the WISE-750
directly. If there's another sensor to be connected to WISE-750, it should follow figure
4.
Figure 3.3 Analog Input for current
The WISE-750-02A1E package includes 2 accelerometers PCL-M10-3E by default.
The sensor can be connected to the WISE-750 analog channel 0~3 directly. How-
ever, if you'd like to connect your own sensor to the WISE-750, you should connect
your sensor to the 4-pin connector with the pin-assignment below.
Figure 3.4 Pin assignment of 4-pin connector
3.3.2 PCL-M10
The PCL-M10 is designed to connect to WISE-750 directly. In some of the models,
PCL-M10(s) is packed along with the WISE-750. The PCL-M10 follows the pin
assignment of 3.3.1. Connect directly to the analog input channels, then you can test
the accelerometer PCL-M10 in Device Test page.
Bekijk gratis de handleiding van Advantech WISE-750, stel vragen en lees de antwoorden op veelvoorkomende problemen, of gebruik onze assistent om sneller informatie in de handleiding te vinden of uitleg te krijgen over specifieke functies.
Productinformatie
Merk | Advantech |
Model | WISE-750 |
Categorie | Niet gecategoriseerd |
Taal | Nederlands |
Grootte | 3724 MB |