Advantech iDAQ-821 handleiding
Handleiding
Je bekijkt pagina 24 van 36

iDAQ-817_821 User Manual 14
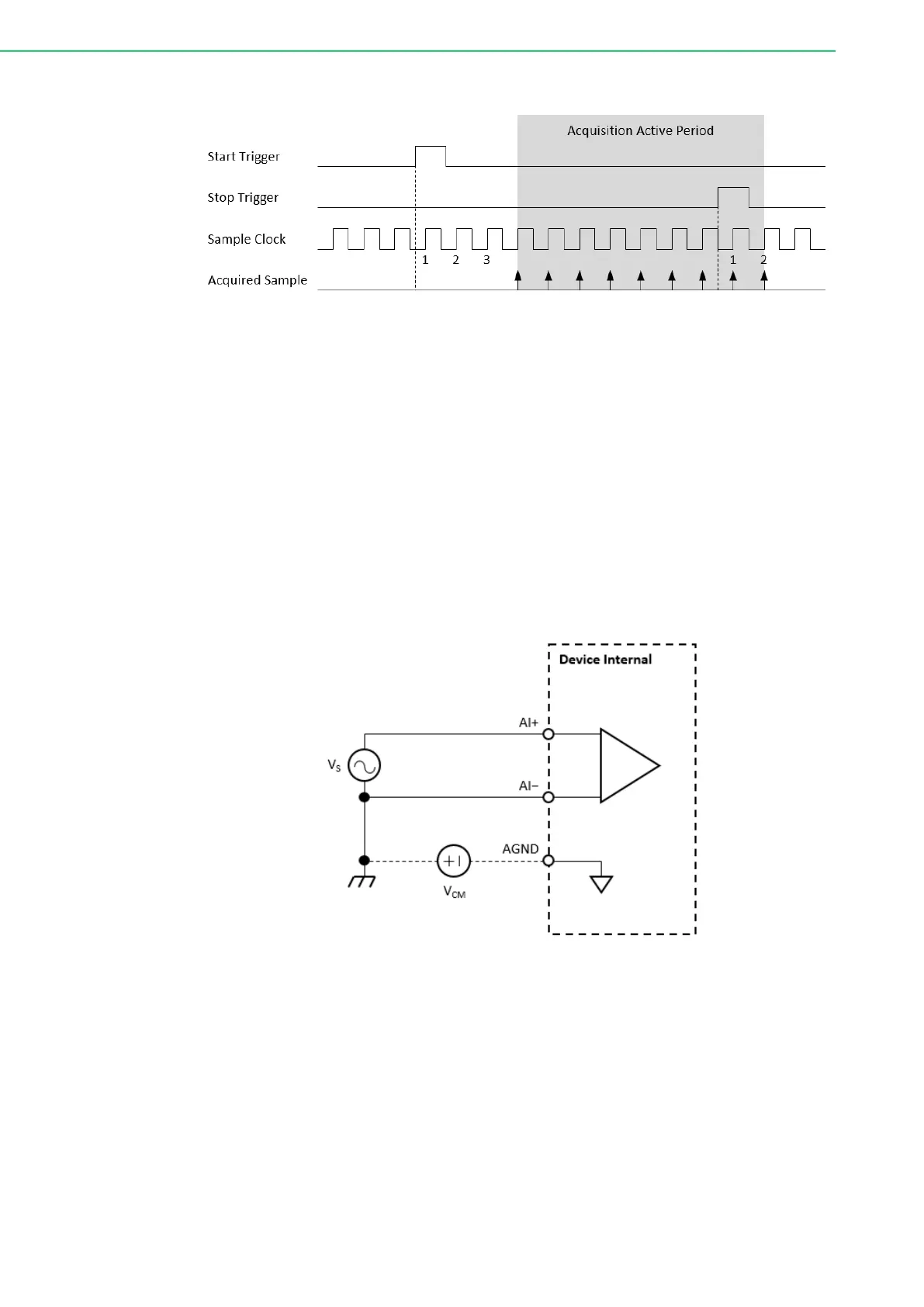
Figure 3.4 Start and stop of the analog input acquisition with delay.
Buffered analog input acquisition has several advantages over instant analog input
acquisition:
The start and stop time of acquisition (or duration of the acquisition) can be pre-
cisely controlled by hardware trigger signals.
The ADC conversion rate is configurable and the sample rate can be much
higher by using hardware sample clock signals.
Time between samples is deterministic.
3.2.3 High Common-Mode Amplifier
Each channel is equipped with a high common-mode voltage amplifier that can with-
stand high common-mode input voltage. Common-mode input voltage (VCM) is the
ground voltage difference between the source and the device as shown in Figure 3.5.
Figure 3.5 Common-mode input voltage.
This is suitable for applications which measure voltages with high common-modes
such as battery cell voltage monitoring, high-voltage current sensing, or power-sup-
ply current monitoring. For other analog input measurement devices without this fea-
ture, the device will be damaged due to the high common-mode input voltage. Refer
to the device specifications for the maximum allowable common-mode voltage.
3.2.4 Analog Input Low-pass Filter
The low-pass filter removes high frequency noise of the input signal and the noise
that is added by the high common-mode voltage amplifier. It can also act as an anti-
aliasing filter which avoids alias generation due to ADC conversion.
Bekijk gratis de handleiding van Advantech iDAQ-821, stel vragen en lees de antwoorden op veelvoorkomende problemen, of gebruik onze assistent om sneller informatie in de handleiding te vinden of uitleg te krijgen over specifieke functies.
Productinformatie
Merk | Advantech |
Model | iDAQ-821 |
Categorie | Niet gecategoriseerd |
Taal | Nederlands |
Grootte | 2721 MB |