Handleiding
Je bekijkt pagina 64 van 76

64
Управление
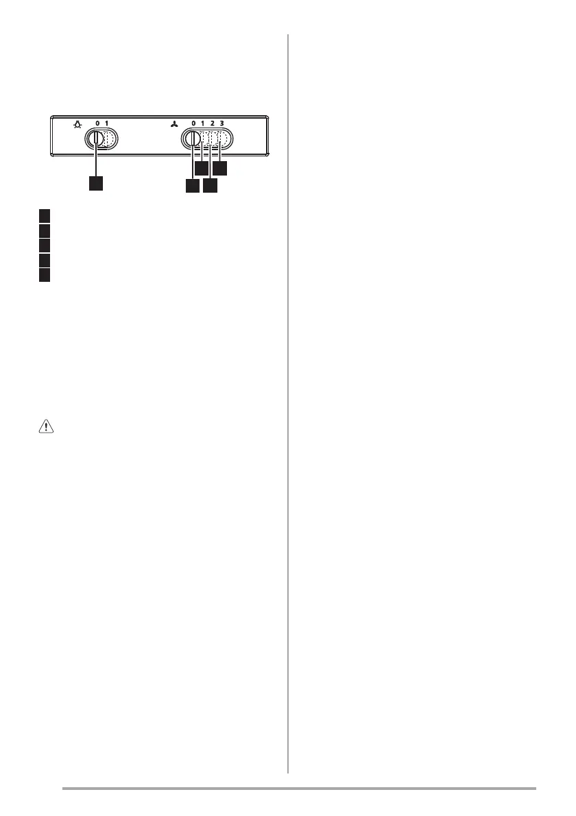
Аспираторът е снабден с командно табло
с възможност за регулиране скоростта на
аспириране и превключвател на осветлението на
готварския плот.
12
13
14
15
1
1 - ON/OFF на светлините
2 - изключване (OFF) на мотора
3 - Мощност на аспириране минимална
4 - Мощност на аспириране средна
5 - Мощност на аспириране максимална
Ако при готвене се отделя много пара, преминете
на максимален режим на работа. Препоръчително
е да включите аспиратора 5 минути преди да
започнете да готвите и да го оставите да работи
още 15 минути след като приключите.
Осветителна приборы
Изключете уреда от ел. мрежата.
Внимание! Преди да вземете в ръка ел.
крушките проверете дали са изстинали.
Подменете увредената крушка.
Използвайте само халогенни лампи тип „свещ”
Ø35 мм. E14 28W.
Bekijk gratis de handleiding van Zoppas PHC61260XK, stel vragen en lees de antwoorden op veelvoorkomende problemen, of gebruik onze assistent om sneller informatie in de handleiding te vinden of uitleg te krijgen over specifieke functies.
Productinformatie
| Merk | Zoppas |
| Model | PHC61260XK |
| Categorie | Afzuigkap |
| Taal | Nederlands |
| Grootte | 9323 MB |





