Yamato R32 YFC18G4 handleiding

68 pagina's
PDF beschikbaar

Handleiding

Je bekijkt pagina 17 van 68
DC Inverter U-match Series Floor Ceiling Type Unit
13
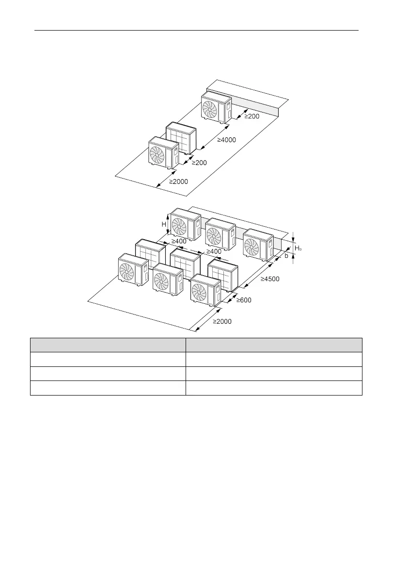
3) When outdoor units are installed in rows.
Unit:mm
H
b
H (mm)
H
b
≤1/2H b≥250
1/2H<H
b
≤H b≥300
H
b
>H Prohibited

Bekijk gratis de handleiding van Yamato R32 YFC18G4, stel vragen en lees de antwoorden op veelvoorkomende problemen, of gebruik onze assistent om sneller informatie in de handleiding te vinden of uitleg te krijgen over specifieke functies.

Productinformatie

MerkYamato
ModelR32 YFC18G4
CategorieAirco
TaalNederlands
Grootte5874 MB