Handleiding
Je bekijkt pagina 19 van 34

Warning please shut down the unit and cut off the power before cleaning for safe.
CLEANING
CLEAN THE FILTER
When your air conditioner can not run in order, please shut down the machine and cut off the power
supply immediately. Then contact dealers.
AFTER-SALESSERVICE
1. Please do the following job well if the air conditioner is not used for a long time.
In order to dry the unit completely, set the FAN mode and runs for 3-4hours.
Shut down the air conditioner and cut off the power supply.
2. When used again after the unit stops for a long period:
When cleaning the filter and indoor unit, you must stop the unit and cut off power supply. Wipe the
indoor uni twith soft cloth. It is forbidden to posh the machine with petrol, benzene, lye, powder,
detergent, insecticide etc., Which will damage the unit.
Ensure air in let and outlet of indoor and outdoor unit are not blocked by rubbish.
Check whether the grounded wire is loose and flexible, then connect the power.
MAINTENANCE
Clean the unloaded filter with vacuum cleaner or water.
Scrub with neutral detergent if the filter is too dirty. Do not wash with hot water (about above 50 ),
in case it is out of shape.
Place it on a ventilated place and cannot be under the sunshine directly after washing lest it is out
of shape.
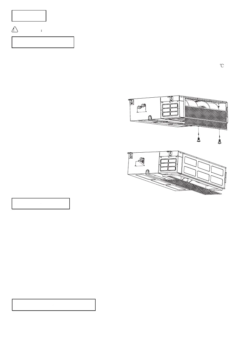
For your purchasing unit is a rear ventilated one,
please remove the filter fixed screws (2screws)
and take down the filter a way from the unit.
For your purchasing unit is a descensional
ventilate done, please push the filter up slightly
to let the position retainer escape away from the
flange fixed holes, and take off the filter
according to the arrow direction shows in the
following fig.
.
.
.
.
.
15
Bekijk gratis de handleiding van Yamato R32 YD42T1, stel vragen en lees de antwoorden op veelvoorkomende problemen, of gebruik onze assistent om sneller informatie in de handleiding te vinden of uitleg te krijgen over specifieke functies.
Productinformatie
Merk | Yamato |
Model | R32 YD42T1 |
Categorie | Airco |
Taal | Nederlands |
Grootte | 3017 MB |