Handleiding
Je bekijkt pagina 22 van 38

Split type outdoor unit
B
MODE
A B C
D
E
F
H
780 516 314
350
307
321
605
18K
A
24K
Pipe dimension and ways of installation
Outdoor pipe dimension and ways of install (in sequence of cooling capacity
)
Remove objects and water
Additional refrigerant charge
Before instal ling refrigerant pipe, please clean the pipe in case of foreign objects.
Use high-pressure nitrogen to clean the pipe instead of outdoor refrigerant.
The additional charge is base on the diameter and length of outlet/inlet liquid type .
This AC has been charged with that for 5m pipe, those beyond 5 m should recharge as follows.
1/4
1/2
REFRIGERANT PIPE INSTALLATION
Copper Pipe for Air ConditionerPipe Material
Size(mm)
Gas side
Liquid side
Model
12/18K
24K
30/36/42/48/55K
6.35(7/16inch)
9.52(5/8inch)
12.7(3/4 inch)
6.35(7/16inch)
3/8
9.52(5/8inch)
15.88(7/8inch)
15
36K
845 574 348
375
342
358 700
910 607 390 421
391
378 804
Figure of body size
Liquid pipe diameter
Additional charge for 1m pipe(R32)
0.016kg
0.040kg
0.096Kg
Please refer to refrigerant pipe connection for detail
。
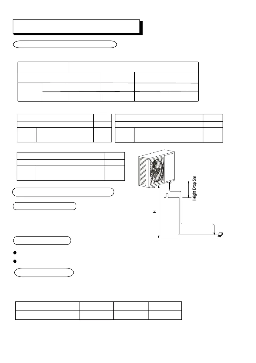
Allowed length and height drop
Outdoor Unit
Indoor Unit
L
Oil Return
Allowed value
50m
25m
Longest pipe (L)
Maximum
Height drop between indoor and outdoor
height drop
unit H
Co nventiona l pi pe, cooli ng cap acity36000~42000B tu/h
Allowed value
Longest pipe(L)
30m
15 m
Maximum
Height drop between indoor and
height drop
outdoor unit H
Conve ntional pipe, cooli ng capacity18000 ~30000Bt u/h
Allowed value
60m
30m
Longest pipe (L)
Maximum
Height drop between indoor and outdoor
height drop
unit H
Conventional pipe, cooling capacity48000~55000Btu/h
18
Bekijk gratis de handleiding van Yamato R32 YC55T1T, stel vragen en lees de antwoorden op veelvoorkomende problemen, of gebruik onze assistent om sneller informatie in de handleiding te vinden of uitleg te krijgen over specifieke functies.
Productinformatie
Merk | Yamato |
Model | R32 YC55T1T |
Categorie | Airco |
Taal | Nederlands |
Grootte | 3862 MB |