Handleiding
Je bekijkt pagina 16 van 38

running 22
board, and the drain pump start up immediately.
2) Stow 600cc water with pot or hose from sprue slowly , preventing touching the drain pump motor.
3) After the preparation work , disconnect the water level switch ,power 220-240V to
Check whether the drain pipe is unhindered before testing.
1) Stow water from sprue to check.
AC of terminal
4) After drain pump run 2 min.,reset the water level pin, and the drain pump motor will stop after
min..
L
N
Motor Sound Test
The drainage test is doing during checking the drain pump motor running sound .
Reset the water level switch connection to the original position after the drainage test .
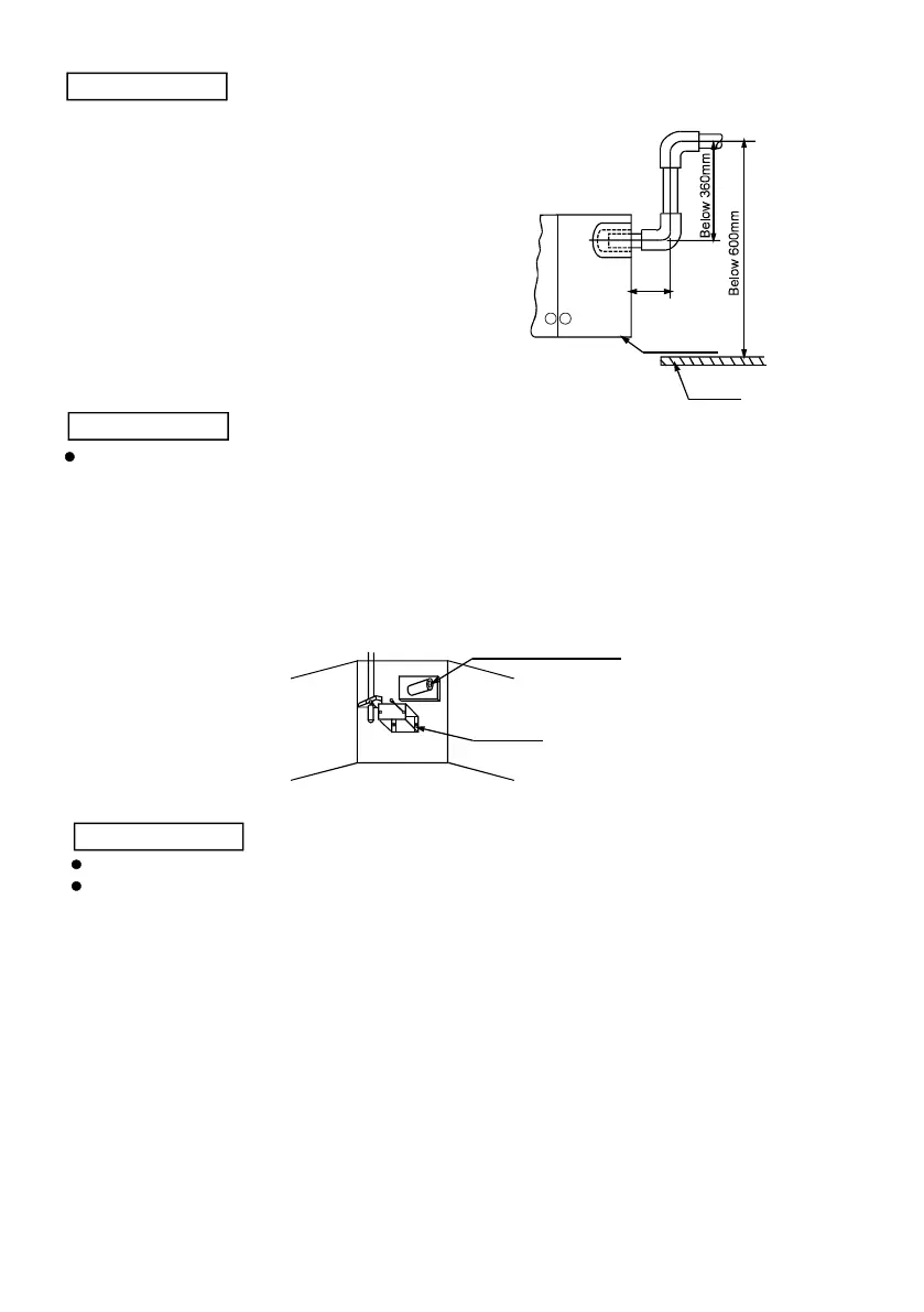
Drainage Upward
Drainage Test
To make sure that the drainage pipe would not be slanted
downward, lead it upward to a height 360mm maximum,
then downward lead it.
Below
100mm
Indoor Unit
Ceiling
Drain pipe connection
Sprue
WARNING
Specified power cables should be used. Do not apply any pressure on the
terminals used to connect.
Grounding must be properly done.
Improper connection may cause fire.
Electric Wiring must be done by professionals. Use a separate circuit according
to national regulations.
The grounding wire should be away from gas pipes, water pipes, telephone,
lightening rods or other grounding wires. Improper grounding may cause electric
shock.
If the wiring capacity is not enough, electric shock or fire may occur.
If the supply cord is damaged, it must be replaced by the manufacturer or its service agent
or a similarly qualified person in order to avoid a hazard
An all-pole disconnection switch having a contact separation of at least 3mm in all poles sho-
uld beconnected in fixed wiring.
Be sure to Install Current Leakage Protection Switch. Or electric shock may occur.
the appliance must be positioned so that the plug is accessible
the appliance shall be installed in accordance with national wiring regulations
CAUTION
ELECTRIC WIRING
The temperature of refrigerant circuit will be hight ,please keep the interconnection able
away from the copper tube.
Power cord is to be selected according to national regulations.
Outdoor unit power cord should be selected and connected according to the outdoor unit
installation manual.
Wiring should be away from high temperature components, or the insulation layer of the
wires may melt down.
Use wire clamp to fix the wires and terminal block after connection.
Control wire should be wrapped together with heat insulated refrigerant pipes.
Connect the indoor unit to power only after the refrigerant has been vacuumed.
CAUTION
Don t connect the power wire to the signal wire connection end.
’
Terminal Board Diagram
Panel Wiring
Connect the Swing Motor terminal block according to cassette indoor unit wiring diagram.
Please refer to cassette indoor unit wiring for the wiring.
12
Bekijk gratis de handleiding van Yamato R32 YC42T1, stel vragen en lees de antwoorden op veelvoorkomende problemen, of gebruik onze assistent om sneller informatie in de handleiding te vinden of uitleg te krijgen over specifieke functies.
Productinformatie
Merk | Yamato |
Model | R32 YC42T1 |
Categorie | Airco |
Taal | Nederlands |
Grootte | 3862 MB |