Handleiding
Je bekijkt pagina 8 van 24

8
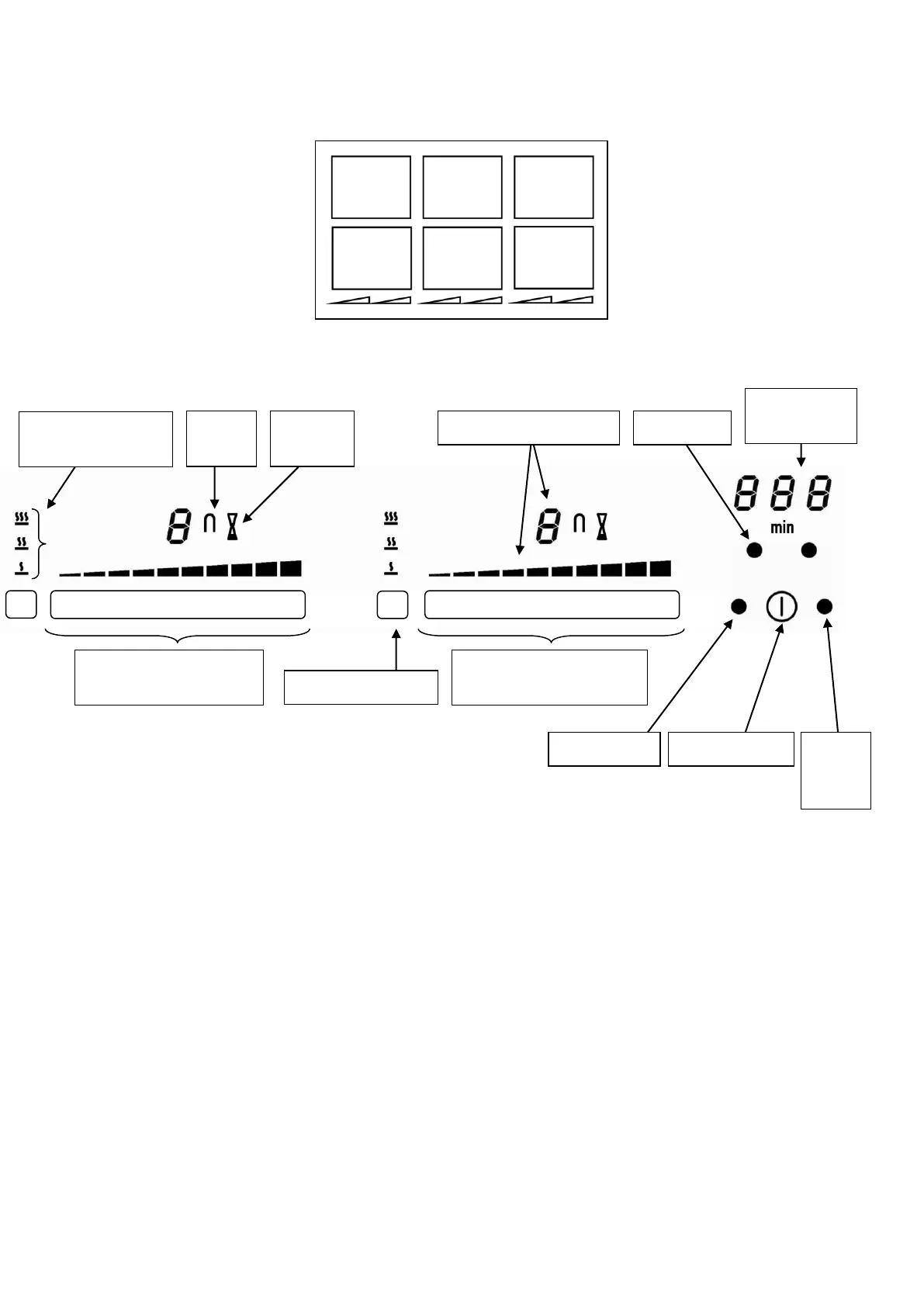
Proper placement of cookware
Caution: For optimal effect, it is important that the pan is placed centered over the zones (see
diagram).
Control panel
Power selection zone
“Slider” (rear zone)
Power selection zone
“Slider” (front zone)
Keep warm key
On/Off key
Chef key
Timer keys
Keep warm
displays
Bridge
display
Timer
display
Power display
Timer
display
Pause/
Recall
key
Bekijk gratis de handleiding van Witt WIK78CHEF, stel vragen en lees de antwoorden op veelvoorkomende problemen, of gebruik onze assistent om sneller informatie in de handleiding te vinden of uitleg te krijgen over specifieke functies.
Productinformatie
| Merk | Witt |
| Model | WIK78CHEF |
| Categorie | Fornuis |
| Taal | Nederlands |
| Grootte | 2044 MB |







