Witt Classic EHP60 handleiding
Handleiding
Je bekijkt pagina 20 van 44

SV
20
7
11
8
9
10
7
7
Drift och Underhåll
Användarinstruktioner
av Pekstyrning
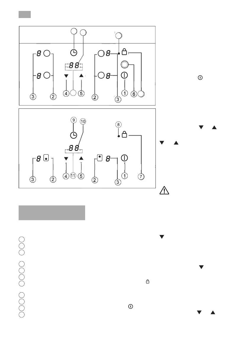
ANVÄNDNINGSOMRÅDEN (Figur 2)
PÅ/AV Pekknapp
2
SLÅ PÅ APPARATEN
(7)
(1) minimum
SLÅ PÅ SPISHÄLLEN
eller (4/5)
Varning:
För att köra spishällen, borde
man välja det först. Om du vill
använda en spishäll, kontrollera
ljusstyrkan på energiindikatorn. Efter
att ha valt spishällen, borde man öka
ljusstyrkan på energiindikatorn.
Snabbkoppling på maximal energi:
När du väljer spishällen, tryck på
(4) knappen en gång. Spishällen
kommer att fungera med full eekt.
STÄNGA AV SPISHÄLLEN
Snabb avslutningsalternativer:
(4/5)
Figur 2
Bekijk gratis de handleiding van Witt Classic EHP60, stel vragen en lees de antwoorden op veelvoorkomende problemen, of gebruik onze assistent om sneller informatie in de handleiding te vinden of uitleg te krijgen over specifieke functies.
Productinformatie
Merk | Witt |
Model | Classic EHP60 |
Categorie | Niet gecategoriseerd |
Taal | Nederlands |
Grootte | 5880 MB |