Wiesenfield WIE-PC-100 handleiding
Handleiding
Je bekijkt pagina 4 van 297

DE
1. Kombinierter Kühler und Sieb
Die Kombination aus Kühler und Sieb basiert auf einer Drehtrommelkonstruktion,
die aus einem Trommelsieb und einem Rahmen besteht. Das Trommelsieb ist im
Verhältnis zum Boden leicht schräg gestellt. Die Außenseite des Siebs ist mit Stahl
ummantelt, um die Lärmbelästigung zu verringern. Das Sieb dreht sich mit
kontrollierter Geschwindigkeit und trennt und kühlt die Pellets, während sie von
oben nach unten in der Trommel wandern. Das feine Pulver wird nach vorne
ausgetragen, während die guten Pellets nach hinten austreten. Der
Rotationsprozess ist gleichmäßig, mit minimalen Vibrationen oder impulsiven
Bewegungen, was die Stabilität gewährleistet. Die Maschine ist einfach zu
installieren und kann direkt auf dem Boden, auf einer Diele oder unter
Lagerflächen aufgestellt werden. Außerdem bietet er einfache Funktionen zur
Staubabscheidung und Wartung.
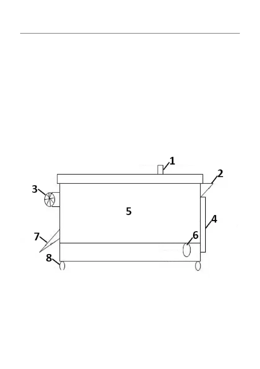
Musterzeichnung eines kombinierten Kühlers und Siebs
1
Dampfauslass
2
Zuführung von Paletten
3
Reduzierstück
4
Sicherheitsabdeckung
5
Kombinierte Kühler und Siebe
6
Anschluss des Staubfilters
7
Entleerung des fertigen Pellets
8
Rad
Bekijk gratis de handleiding van Wiesenfield WIE-PC-100, stel vragen en lees de antwoorden op veelvoorkomende problemen, of gebruik onze assistent om sneller informatie in de handleiding te vinden of uitleg te krijgen over specifieke functies.
Productinformatie
| Merk | Wiesenfield |
| Model | WIE-PC-100 |
| Categorie | Niet gecategoriseerd |
| Taal | Nederlands |
| Grootte | 46740 MB |







