Handleiding
Je bekijkt pagina 46 van 84

DE / 46
6 Verwendung des Geräts
6.1 Bedienfeld des Geräts
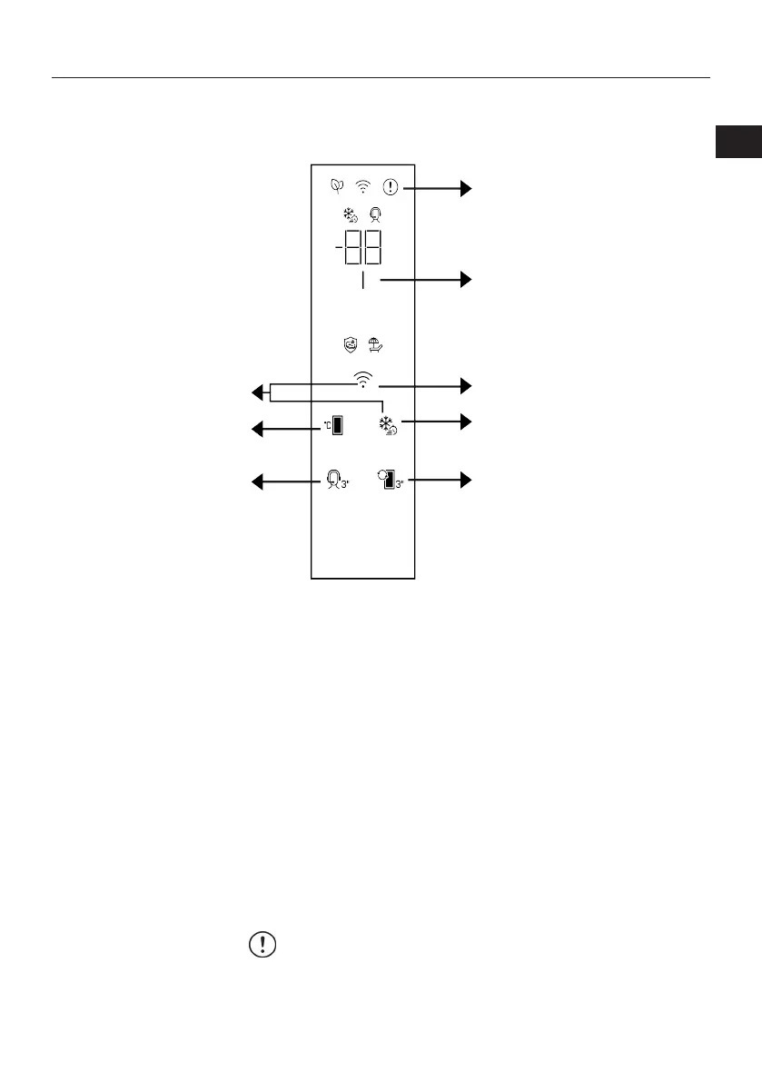
1
2
3
4
56
7
8
1 Fehlerzustandsanzeige 2 Energiesparanzeige (Anzeige aus)
3 * Kabellose Taste 4 Schnellgefriertaste/Schnellkühlen
5 Fachumwandlungstaste 6 *Support-Service-Taste
7 Taste zur Temperatureinstellung 8 Taste zum Zurücksetzen der Einstel-
lungen für die kabellose Verbindung
Lesen Sie zuerst die „Sicherheitshinweise“.
Die auditiven und visuellen Funktionen der
Anzeigetafel erleichtert Ihnen die Nutzung
des Kühlschranks.
*Optional: Die angezeigten Funktionen sind
optional, es können Form- und Lageunter-
schiede bei den Funktionen auf der Anzeige
Ihres Geräts auftreten.
1. Fehlerzustandsanzeige
Diese Anzeige ( ) muss aktiv sein, wenn Ihr
Kühlschrank keine ausreichende Kühlung
durchführen kann oder wenn ein Sensorfeh-
ler vorliegt. Auf der Temperaturanzeige des
Gefrierfachs wird "E" angezeigt und auf der
Temperaturanzeige des Kühlfachs werden
Zahlen wie 1, 2, 3... angezeigt. Diese Zah-
len geben dem autorisierten Dienst Aus-
kunft über den aufgetretenen Fehler. Das
Ausrufezeichen kann angezeigt werden,
wenn Sie warme Lebensmittel in das Ge-
frierfach laden oder die Tür längere Zeit of-
fen halten. Dies ist kein Fehler. Diese War-
nung wird erlischen, wenn die Lebensmittel
abgekühlt sind oder wenn eine Taste ge-
drückt wird.
EN
NL
DE
FR
Bekijk gratis de handleiding van Whirlpool WHFF 6404 W6E, stel vragen en lees de antwoorden op veelvoorkomende problemen, of gebruik onze assistent om sneller informatie in de handleiding te vinden of uitleg te krijgen over specifieke functies.
Productinformatie
| Merk | Whirlpool |
| Model | WHFF 6404 W6E |
| Categorie | Vriezer |
| Taal | Nederlands |
| Grootte | 7055 MB |





