Handleiding
Je bekijkt pagina 26 van 84

NL / 26
6 Het gebruik van uw apparaat
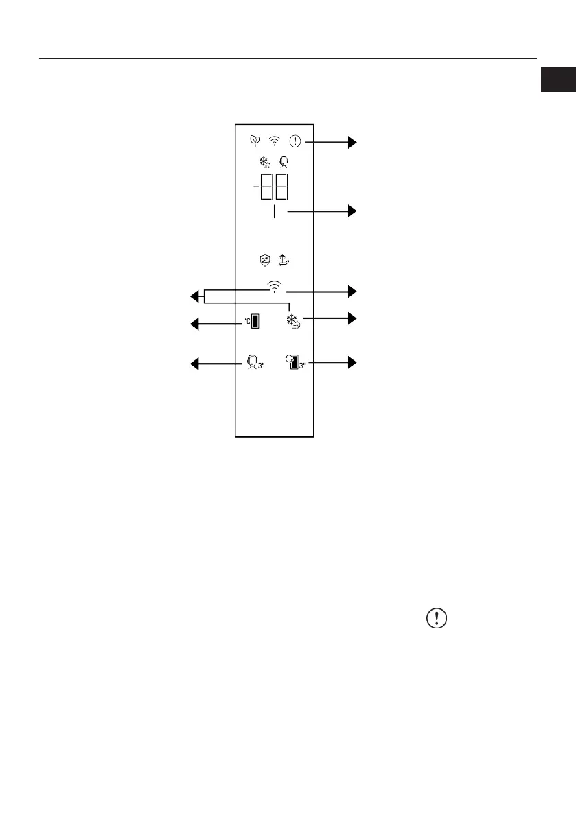
6.1 Bedieningspaneel van het product
1
2
3
4
56
7
8
1 Foutstatus indicator 2 Energiebesparing (scherm uit) indica-
tor
3 *Draadloze toets 4 Snel invriezen/koelen toets
5 Vak conversieschakelaar 6 *Servicesleutel ondersteunen
7 Temperatuurregeling toets 8 * Toets om de instellingen van de
draadloze verbinding opnieuw in te
stellen
Lees eerst het hoofdstuk “Veiligheidsin-
structies”!
De geluids- en visuele functies van het indi-
catorpaneel helpen bij het gebruik van de
koelkast.
*Optioneel: De weergegeven functies zijn
optioneel; er kunnen verschillen zijn in de
vorm en de locatie van de functies op het
indicatorpaneel van uw apparaat.
1.Foutstatus indicator
Deze indicator schakelt in als uw koelkast
onvoldoende koelt of in het geval van een
sensorfout. “E” verschijnt op de tempera-
tuurindicator van de diepvriezer en cijfers
zoals “1,2,3...” verschijnen op de tempera-
tuurindicator van het koelvak. Deze cijfers
bieden informatie aan de geautoriseerde
service over de opgetreden fout. Het uit-
roepteken kan verschijnen als u warme
EN
NL
DE
FR
Bekijk gratis de handleiding van Whirlpool WHFF 6404 W6E, stel vragen en lees de antwoorden op veelvoorkomende problemen, of gebruik onze assistent om sneller informatie in de handleiding te vinden of uitleg te krijgen over specifieke functies.
Productinformatie
| Merk | Whirlpool |
| Model | WHFF 6404 W6E |
| Categorie | Vriezer |
| Taal | Nederlands |
| Grootte | 7055 MB |





