Handleiding
Je bekijkt pagina 7 van 64

7
Mobile home installations require:
� When this range is installed in a mobile home, it must be
secured to the floor during transit. Any method of securing the
range is adequate as long as it conforms to the standards
listed above.
� Four-wire power supply cord or cable must be used in a mobile
home installation. The appliance wiring will need to be revised.
See “Electrical Connection - U.S.A. Only” section.
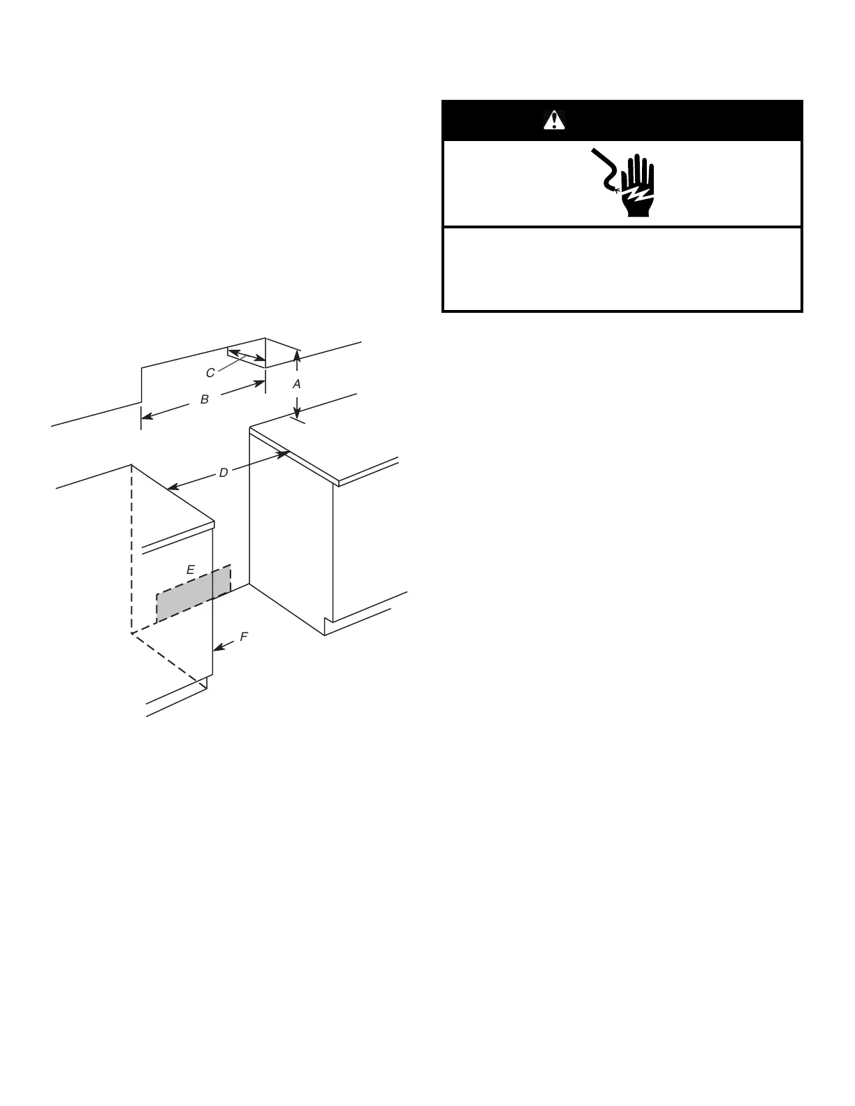
Cabinet Dimensions
Cabinet opening dimensions shown are for 25" (64.0 cm)
countertop depth, 24" (61.0 cm) base cabinet depth and
36" (91.4 cm) countertop height.
IMPORTANT: If installing a range hood or microwave hood
combination above the range, follow the range hood or microwave
hood combination installation instructions for dimensional
clearances above the cooktop surface.
A freestanding range may be installed next to combustible walls
with zero clearance.
C
B
A
D
E
F
A. For minimum clearance to top of cooktop, see NOTE*
B. 30" (76.2 cm) minimum opening width
C. 13" (33.0 cm) maximum upper cabinet depth
D. 30" (76.2 cm) minimum opening width
E. Outlet - 8" (20.3 cm) to 22" (55.9 cm) from either cabinet, 7"
(17.8 cm) maximum from floor.
F. Cabinet door or hinges should not extend into the cutout.
*NOTE: 24" (61.0 cm) minimum when bottom of wood or metal
cabinet is covered by not less than 1/4" (0.64 cm) flame retardant
millboard covered with not less than No. 28 MSG sheet steel,
0.015" (0.4 mm) stainless steel, 0.024" (0.6 mm) aluminum or
0.020" (0.5 mm) copper.
30" (76.2 cm) minimum clearance between the top of the cooking
platform and the bottom of an uncovered wood or metal cabinet.
Electrical Requirements - U.S.A.
Only
WARNING
Electrical Shock Hazard
Electrically ground appliance.
Failure to do so could result in death, fire, or electrical
shock.
If codes permit and a separate ground wire is used, it is
recommended that a qualified electrical installer determine that
the ground path and wire gauge are in accordance with local
codes.
Do not use an extension cord.
Be sure that the electrical connection and wire size are adequate
and in conformance with the National Electrical Code,
ANSI/NFPA 70-latest edition and all local codes and ordinances.
A copy of the above code standards can be obtained from:
National Fire Protection Association
1 Batterymarch Park
Quincy, MA 02169-7471
WARNING: Improper connection of the equipment-grounding
conductor can result in a risk of electric shock. Check with a
qualified electrician or service technician if you are in doubt as to
whether the appliance is properly grounded. Do not modify the
power supply cord plug. If it will not fit the outlet, have a proper
outlet installed by a qualified electrician.
Bekijk gratis de handleiding van Whirlpool WFES5730SV, stel vragen en lees de antwoorden op veelvoorkomende problemen, of gebruik onze assistent om sneller informatie in de handleiding te vinden of uitleg te krijgen over specifieke functies.
Productinformatie
| Merk | Whirlpool |
| Model | WFES5730SV |
| Categorie | Fornuis |
| Taal | Nederlands |
| Grootte | 10471 MB |







