Handleiding
Je bekijkt pagina 44 van 56

44
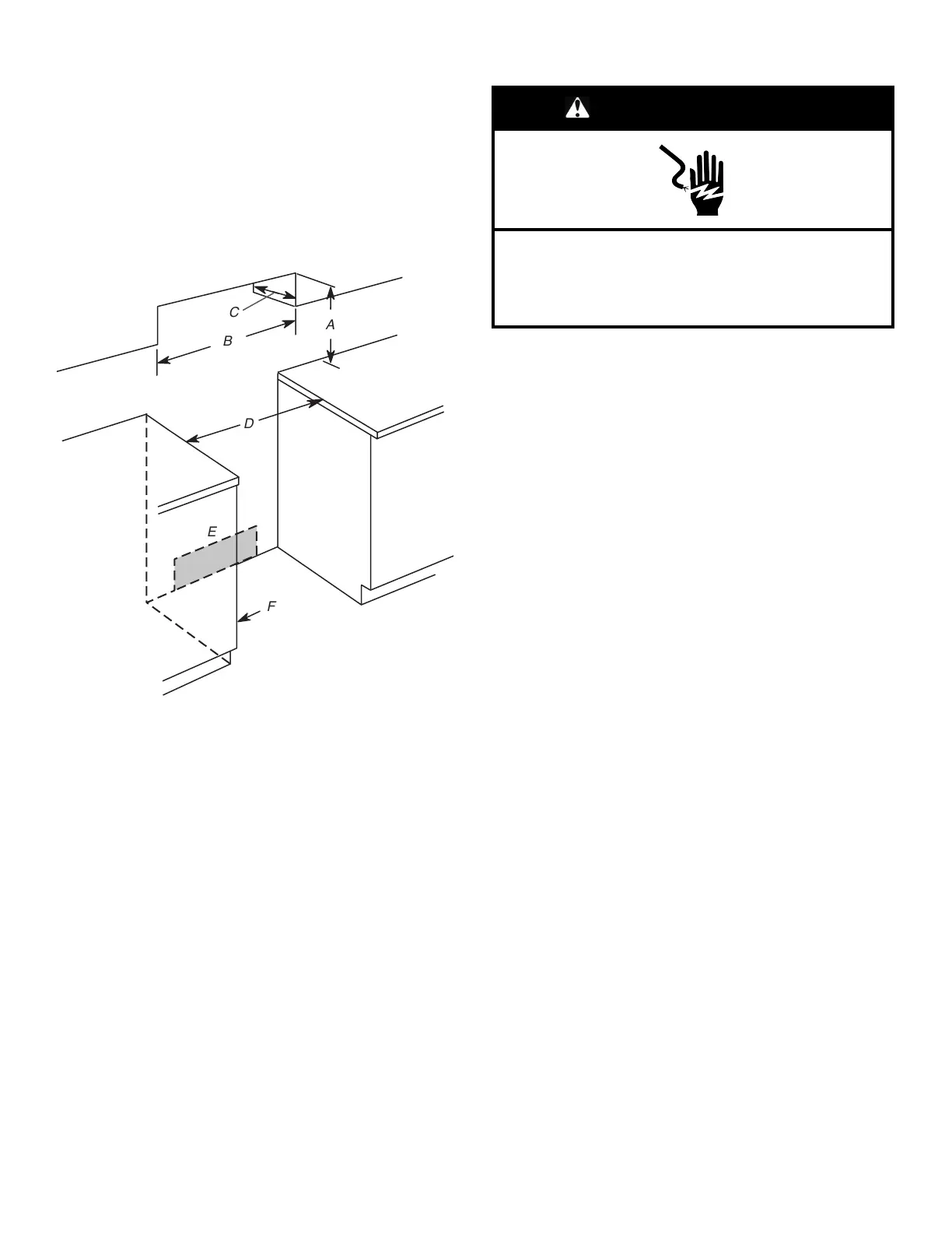
Dimensiones del gabinete
Las dimensiones de abertura del gabinete que se muestran son
para una profundidad de mostrador de 25" (64,0 cm), una
profundidad del gabinete de la base de 24" (61,0 cm) y una altura
del mostrador de 36" (91,4 cm).
IMPORTANTE: Si va a instalar una campana para estufa o una
combinación microondas campana sobre la estufa, siga las
instrucciones de instalación incluidas con la campana para estufa
o la combinación microondas campana para las medidas de
espacio sobre la superficie de cocción.
Una estufa independiente puede instalarse próxima a paredes
combustibles con una separación cero.
C
B
A
D
E
F
A. Para ver el espacio mínimo hasta la parte superior de la superficie
de cocción, consulte la NOTA*
B. 30" (76,2 cm) ancho mínimo de apertura
C. 13" (33 cm) profundidad máxima del gabinete superior
D. 30" (76,2 cm) ancho mínimo de apertura
E. Salida - 8" (20,3 cm) a 22" (55,9 cm) desde cualquiera de los
gabinetes, 7" (17,8 cm) máx. desde el piso.
F. La puerta o las bisagras del gabinete no deben extenderse dentro
del área del recorte.
*NOTA: 24" (61,0 cm) como mínimo cuando la base del gabinete
de madera o de metal esté cubierta por madera moldeada
retardante de llama de al menos 1/4" (0,64 cm), cubierta con una
lámina de acero no inferior a N.° 28 MSG, acero inoxidable de
0,015" (0,4 mm), aluminio de 0,024" (0,6 mm) o cobre de 0,020"
(0,5 mm).
30" (76,2 cm) de espacio mínimo entre la parte superior de la
plataforma de la superficie de cocción y la base de un gabinete de
madera o metal descubierto.
Requisitos eléctricos - EE. UU. solo
ADVERTENCIA
Peligro de choque eléctrico
Conecte este aparato con conexión a tierra.
No seguir estas instrucciones podría causar la muerte,
un incendio o una descarga eléctrica.
Si los códigos lo permiten y se emplea un cable de conexión a
tierra separado, es recomendable que un instalador eléctrico
calificado determine si la ruta de conexión a tierra y el calibre del
cable están de acuerdo con los códigos locales.
No utilice un cable de extensión.
Asegúrese de que la conexión eléctrica y el tamaño del cable
sean adecuados y cumplan con el Código nacional eléctrico,
ANSI/NFPA 70, su edición más reciente, y con todos los códigos y
las ordenanzas locales.
Puede obtener una copia de las normas de los códigos antes
indicados en:
National Fire Protection Association
1 Batterymarch Park
Quincy, MA 02169-7471
ADVERTENCIA: La conexión incorrecta del conductor de
conexión a tierra del equipo puede dar como resultado un choque
eléctrico. Si no está seguro de que la conexión a tierra del aparato
sea la adecuada, verifíquela con un electricista o un técnico de
servicio calificado. No modifique el enchufe del cable de
suministro eléctrico. Si no encaja en el tomacorriente, consulte
con un electricista calificado para instalar un tomacorriente
adecuado.
Bekijk gratis de handleiding van Whirlpool WFES4530SZ, stel vragen en lees de antwoorden op veelvoorkomende problemen, of gebruik onze assistent om sneller informatie in de handleiding te vinden of uitleg te krijgen over specifieke functies.
Productinformatie
Merk | Whirlpool |
Model | WFES4530SZ |
Categorie | Fornuis |
Taal | Nederlands |
Grootte | 9757 MB |