Handleiding
Je bekijkt pagina 25 van 56

25
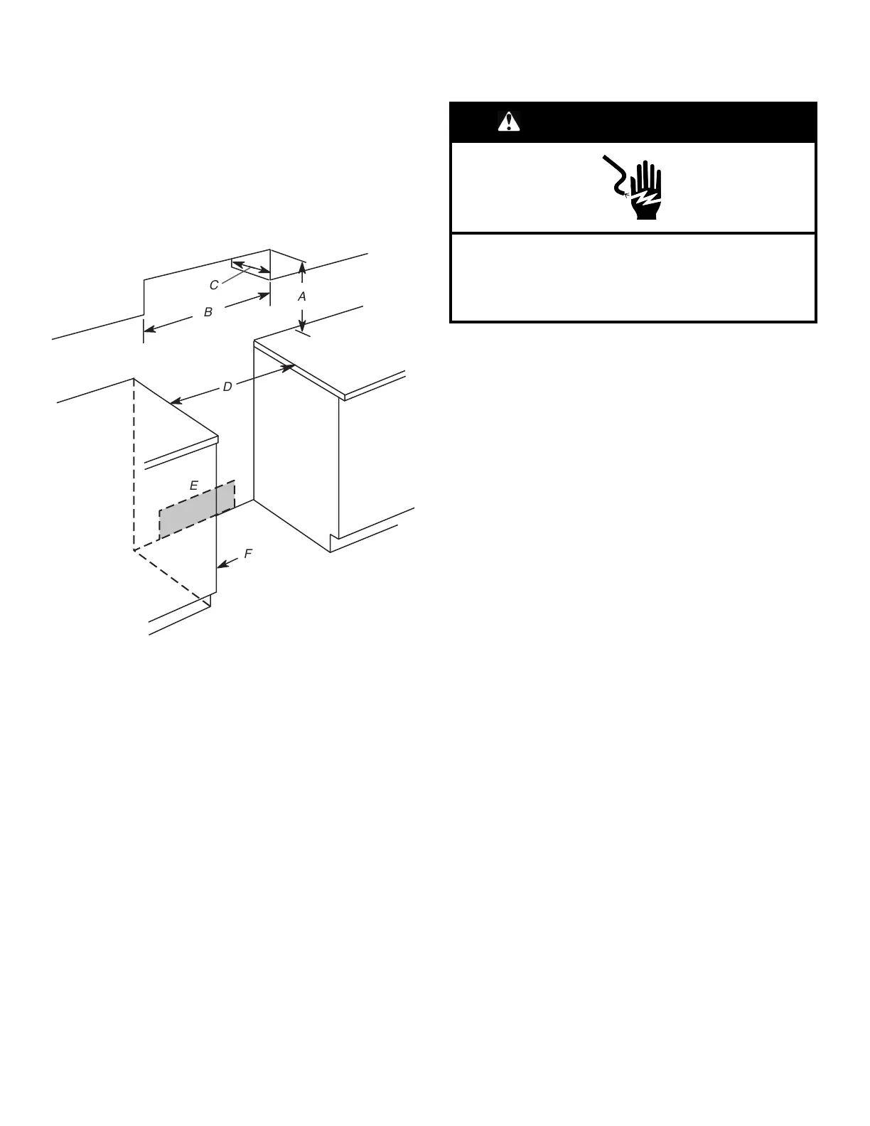
Dimensions de l’Armoire
Les dimensions de l’espace entre les armoires correspondent à
une installation entre des armoires de 24 po (61,0 cm) de
profondeur, avec comptoir de 25 po (64,0 cm) de profondeur et de
36 po (91,4 cm) de hauteur.
IMPORTANT: En cas d’installation d’une hotte ou d’un ensemble
hotte/micro-ondes au-dessus de la cuisinière, suivre les
instructions fournies avec la hotte ou l’ensemble hotte/micro-
ondes concernant les dimensions de dégagement à respecter au-
dessus de la surface de la table de cuisson.
Une cuisinière autoportante peut être installée sans aucun
dégagement à proximité de parois combustibles.
C
B
A
D
E
F
A. Pour le dégagement minimum vers la partie supérieure de la table
de cuisson, voir la REMARQUE*
B. 30 po (76,2 cm) minimum de largeur d’ouverture
C. 13 po (33,0 cm) maximum de profondeur de l’armoire supérieure
D. 30 po (76,2 cm) minimum de largeur d’ouverture
E. Prise – 8 po (20,3 cm) à 22 po (55,9 cm) de l’une des armoires, 7 po
(17,8 cm) maximum du plancher.
F. La porte ou les charnières de l’armoire ne doivent pas dépasser à
l’intérieur de l’ouverture.
*REMARQUE : Distance de séparation de 24 po (61,0 cm) ou
plus lorsque le fond d’une armoire de bois ou de métal est couvert
par une planche ignifugée d’au moins 1/4 po (0,64 cm) recouverte
d’une feuille métallique d’épaisseur égale ou supérieure à : acier
calibre 28 MSG, acier inoxydable 0,015 po (0,4 mm), aluminium
0,024 po (0,6 mm) ou cuivre 0,020 po (0,5 mm).
Distance de séparation minimale de 30 po (76,2 cm) ou plus entre
le dessus de la table de cuisson et le fond d’une armoire de bois
ou de métal non protégée.
Spécifications électriques – É.-U.
seulement
AVERTISSEMENT
Risque de décharge électrique
Appareil relié à la terre.
Le non-respect de ces instructions peut causer un
décès, un incendie ou une décharge électrique.
Si les codes le permettent et qu’un fil de mise à la terre séparé est
utilisé, nous recommandons qu’un électricien qualifié détermine si
le trajet du fil et son calibre respectent les codes locaux.
Ne pas utiliser de câble de rallonge.
S’assurer que le raccordement électrique est adéquat et conforme
au code national de l’électricité, ANSI/NFPA 70 – dernière édition,
et à tous les codes et règlements locaux en vigueur.
Pour obtenir un exemplaire des normes des codes ci-dessus,
contacter :
National Fire Protection Association
1 Batterymarch Park
Quincy, MA 02169-7471
AVERTISSEMENT: Un raccordement inapproprié du conducteur
de mise à la terre de l’équipement peut causer un risque de
décharge électrique. Vérifier avec un électricien ou un technicien
de dépannage qualifié en cas de doute quant à la qualité de la
liaison à la terre de l’appareil. Ne pas modifier la prise du cordon
d’alimentation. Si elle ne correspond pas à la prise de sortie, faire
installer une prise appropriée par un électricien qualifié.
Bekijk gratis de handleiding van Whirlpool WFES4530SZ, stel vragen en lees de antwoorden op veelvoorkomende problemen, of gebruik onze assistent om sneller informatie in de handleiding te vinden of uitleg te krijgen over specifieke functies.
Productinformatie
| Merk | Whirlpool |
| Model | WFES4530SZ |
| Categorie | Fornuis |
| Taal | Nederlands |
| Grootte | 9757 MB |







