Whirlpool WAM 762WB PL handleiding
Handleiding
Je bekijkt pagina 73 van 88

EN / 71
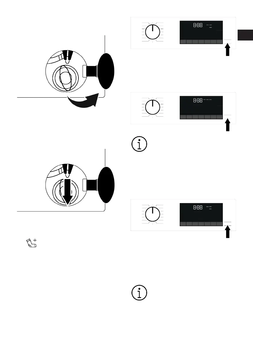
1. Turn off and unplug the product.
2. Open the pump filter lid.
3. Pull down the loading door emergency
handle with a tool and release. Then
open the loading door.
4. If the loading door does not open then
repeat the previous step.
6.12 Changing Selections After Pro-
gram Starts
Adding laundry after the program has star-
ted
:
When you press the Start/Pause button, if
the water level in the machine is appropri-
ate, the door lock is deactivated and the
door opens for you to add laundry. When
the door lock is deactivated, the door lock
symbol on the screen disappears. After
adding laundry, close the door and press
the Start/Pause button again to continue
washing.
If the water level in the machine is insuffi-
cient when you press the Start/Pause but-
ton, the door lock cannot be deactivated
and the door lock icon on the display will
continue to appear.
If the water temperature inside the
machine is above 50°C, you cannot
disable the door lock for safety
reasons (even if the water level is
suitable).
Putting the machine into pause mode:
To pause the washing machine, press and
hold the Start/Pause button for 1 second.
The pause symbol will flash on the display.
Changing the program selection after the
program has started:
If Child Lock is not active, the program can
be changed while the current program is
running. This will cancel the current pro-
gram.
The selected program starts over.
Changing auxiliary function, speed and
temperature settings:
Depending on the step the program has
reached, you can disable or enable auxiliary
functions. See "Auxiliary function selection"
PL
EN
Bekijk gratis de handleiding van Whirlpool WAM 762WB PL, stel vragen en lees de antwoorden op veelvoorkomende problemen, of gebruik onze assistent om sneller informatie in de handleiding te vinden of uitleg te krijgen over specifieke functies.
Productinformatie
| Merk | Whirlpool |
| Model | WAM 762WB PL |
| Categorie | Wasmachine |
| Taal | Nederlands |
| Grootte | 8622 MB |







