Handleiding
Je bekijkt pagina 14 van 112

EN / 14
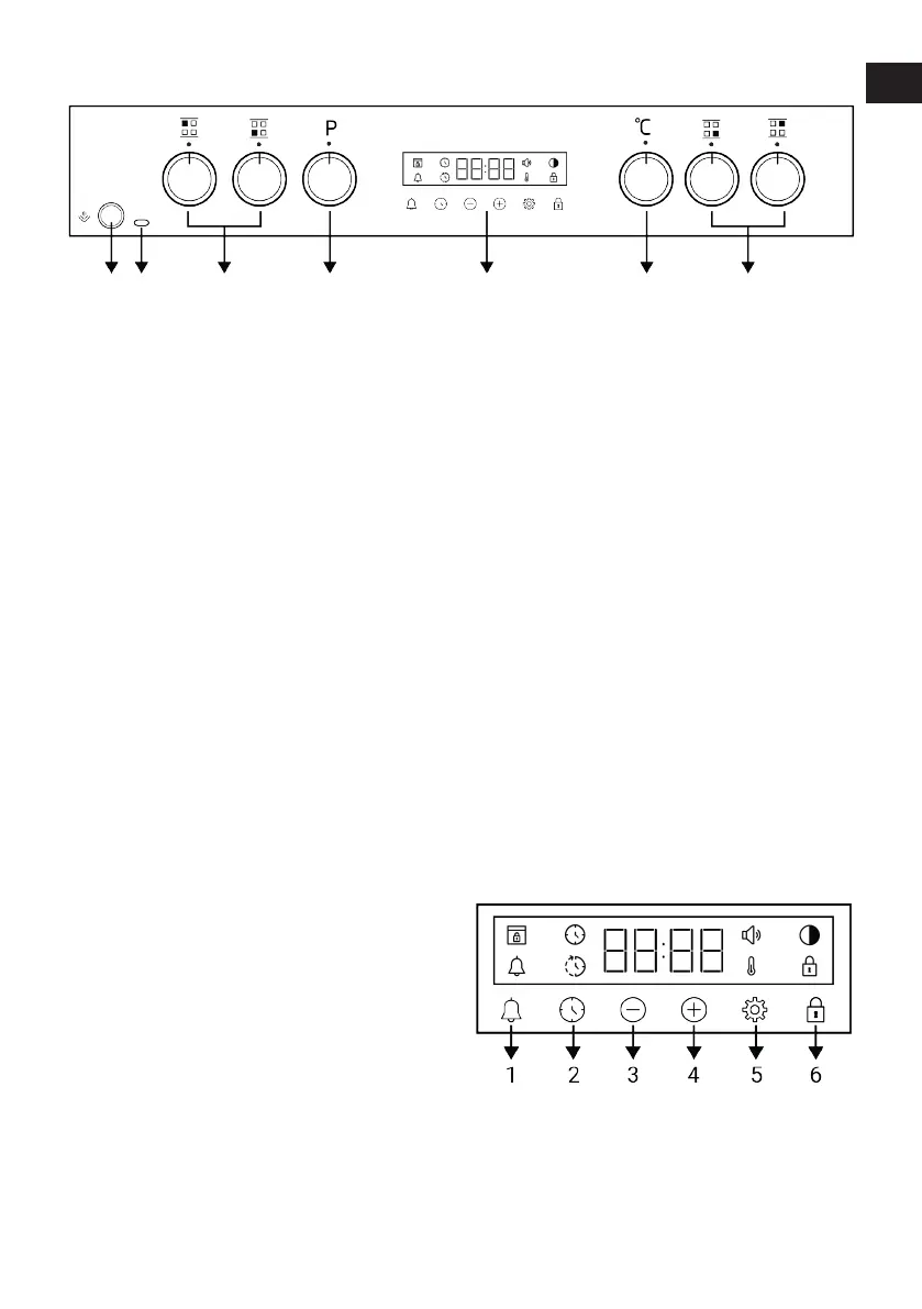
3.2 Introduction of the oven control panel
1 2 3 4 5 6 7
1 Steam assisted cooking/cleaning
button
2 Steam assisted cooking/cleaning
lamp
3 Hob control knobs 4 Function selection knob
5 Timer 6 Temperature knob
7 Hob control knobs
If there are knob(s) controlling your
product, in some models this/these knob(s)
may be so that they come out when pushed
(buried knobs). For settings to be made
with these knobs, first push the relevant
knob in and pull out the knob. After making
your adjustment, push it in again and re-
place the knob.
Function selection knob
You can select the oven operating func-
tions with the function selection knob. Turn
left / right from closed (top) position to se-
lect.
Temperature knob
You can select the temperature you want to
cook with the temperature knob. Turn
clockwise from the closed (top) position to
select.
Oven inner temperature indicator
You can understand the oven interior tem-
perature from the temperature symbol on
the timer display. The temperature symbol
appears on the display when the cooking
starts, and the temperature symbol disap-
pears when the appliance reaches the set
temperature. When the temperature inside
the oven drops below the set temperature,
the temperature symbol reappears.
Hob control knobs
You can operate your hob with the hob con-
trol knobs. Each knob operates the respect-
ive burner. You may infer which burner it
controls from the symbols on the control
panel.
Steam assisted cooking/cleaning button
Used for steam assisted cooking and
cleaning. Will not operate in case of power
failure.
Steam assisted cooking/cleaning lamp
Indicates that the function is activated
when the button is pushed for steam as-
sisted cooking or cleaning. Will not operate
in case of power failure.
Timer
1 Alarm key
2 Time setting key
3 Decrease key
4 Increase key
5 Settings key
6 Key lock key
EN
PL
Bekijk gratis de handleiding van Whirlpool W6G8LSSAWTA, stel vragen en lees de antwoorden op veelvoorkomende problemen, of gebruik onze assistent om sneller informatie in de handleiding te vinden of uitleg te krijgen over specifieke functies.
Productinformatie
| Merk | Whirlpool |
| Model | W6G8LSSAWTA |
| Categorie | Fornuis |
| Taal | Nederlands |
| Grootte | 12451 MB |







