Whirlpool CAE2779JWH handleiding
Handleiding
Je bekijkt pagina 13 van 38

13
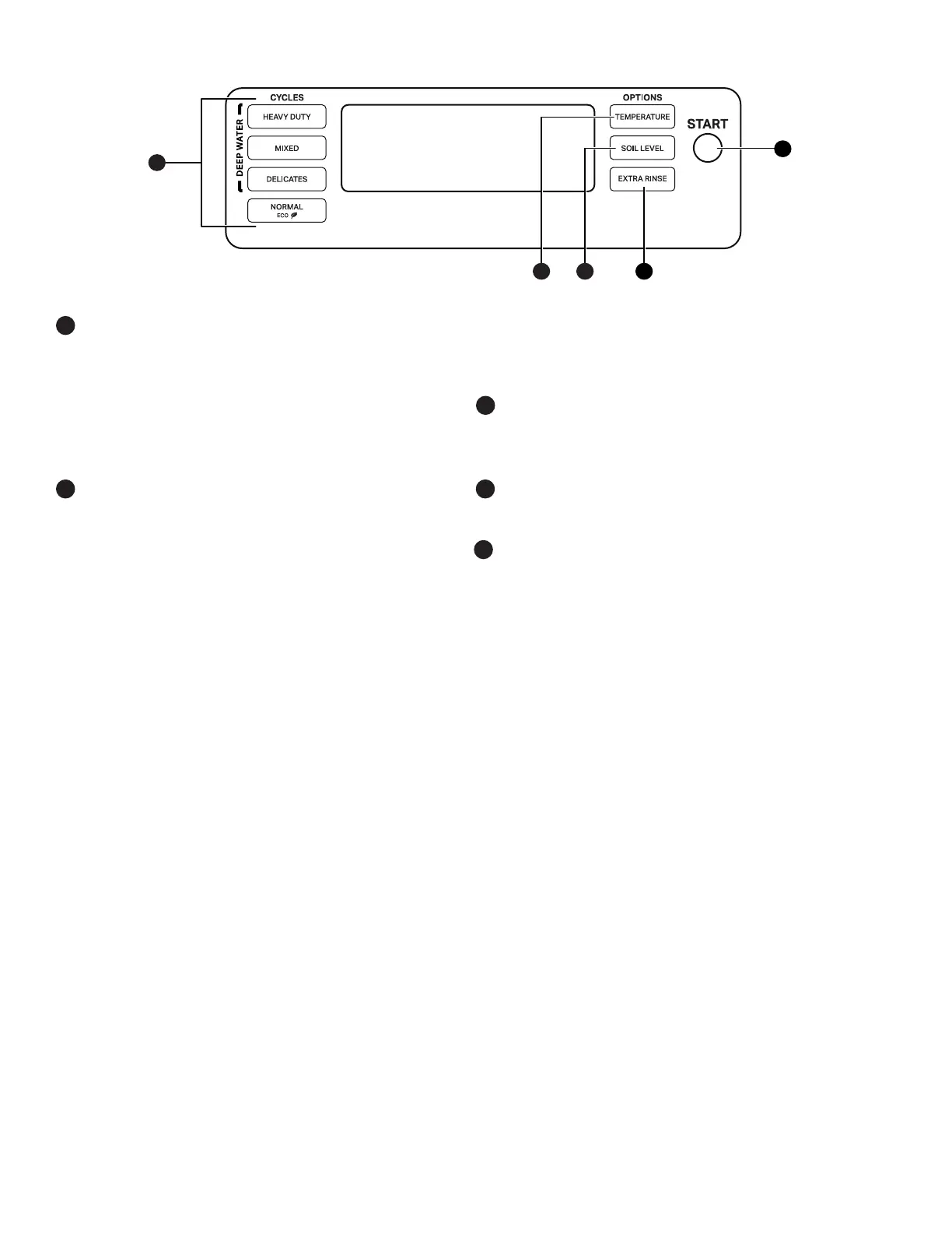
Tableau de commande et caractéristiques
Certains programmes et options ne sont pas disponibles sur certains modèles. L’apparence des appareils peut varier.
4
5
1
32
BOUTON WASH CYCLE (programme de lavage)
Utiliser les boutons du programme Wash Cycle (programme
de lavage) pour sélectionner les programmes disponibles sur
la laveuse. Voir l’afchage de l’état du programme pour la
progression.Consulter le « Guide des programmes » pour une
description détaillée des programmes.
Sélectionner le programme le plus adapté à votre charge. Les
articles doivent pouvoir se déplacer librement. Trop tasser le
linge peut entraîner une mauvaise performance de lavage et
augmenter le froissement et l’emmêlement.
TEMPERATURE (température)
La fonction de température détecte et maintient une
température uniforme de l’eau en régulant le débit d’arrivée
d’eau chaude et d’eau froide.
Sélectionner une température de lavage en fonction du type de
tissu et de saleté à laver. Pour des résultats optimaux, suivre les
instructions sur l’étiquette du vêtement et utiliser la température
d’eau de lavage la plus chaude possible qui reste sans danger
pour le tissu.
• Les températures utilisées pour l’eau chaude et l’eau tiède
des programmes Normal et Éco peuvent être inférieures
aux températures utilisées par votre précédente laveuse.
Les programmes Deep Water (lavage avec niveau d’eau
élevé) fourniront des températures plus élevées pour le
programme de lavage.
• Même avec un lavage à l’eau froide, de l’eau tiède peut être
ajoutée à la laveuse pour maintenir une température minimale.
SÉLECTEUR SOIL LEVEL (degré de saleté)
Permet d’ajuster le temps d’agitation, de lavage et de rinçage en fonction
du niveau de saleté. Pour des résultats optimaux, suivre les instructions
sur l’étiquette du vêtement et utiliser le niveau d’agitation sans danger
pour le tissu.
EXTRA RINSE (Enjuague adicional)
Ajoute un rinçage supplémentaire au programme de lavage déjà
sélectionné.
BOUTON START (mise en marche)
Appuyer sur ce bouton pour démarrer le programme sélectionné. Pour
déverrouiller le couvercle pendant l’essorage nal, appuyer sur ce bouton
pendant 3 secondes pour mettre le programme en pause.
REMARQUE : Le couvercle se déverrouillera dès que le panier cesse de
tourner.
1
2
3
4
5
Bekijk gratis de handleiding van Whirlpool CAE2779JWH, stel vragen en lees de antwoorden op veelvoorkomende problemen, of gebruik onze assistent om sneller informatie in de handleiding te vinden of uitleg te krijgen over specifieke functies.
Productinformatie
| Merk | Whirlpool |
| Model | CAE2779JWH |
| Categorie | Wasmachine |
| Taal | Nederlands |
| Grootte | 5179 MB |







