Westinghouse W6TCAC handleiding
Handleiding
Je bekijkt pagina 11 van 44

English
|
11
OPERATION
OPERATING TIPS
WARNING
Never use the tool on a rooftop
or other unstable surface. This can result in death or
serious personal injury
WARNING
Do not wear loose clothing,
scarves, or jewelry. They can be caught in moving parts
and cause death or serious personal injury.
WARNING
Never pass the tiller over the ex-
tension cord. Be sure that the extension cord is always
in a safe position away from the tines.
WARNING
When working on inclines, be
sure to stand diagonally to the incline to retain firm, safe
footing. Do not work on extremely steep slopes.
WARNING
Be sure the area to be cleared is
free of stones, sticks, wires, gravel, and other objects
that could be accidentally thrown by the tool in any di-
rection and cause serious personal injury to the opera-
tor and others.
WARNING
Before transporting the tiller from
one area to another, turn off the motor and wait for the
tines to stop rotating. Disconnect the tiller from the
power supply. Be careful not to let the tines touch the
ground while transporting the tool.
z If the unit comes in contact with any type of obstruction
or debris during use, stop the tool, disconnect from the
power supply, remove the obstruction, and inspect the
unit carefully for damage before proceeding.
WARNING
Never reach into the tines or place
any body part in front of the tool when the unit is op-
erating or when the unit is plugged in. Always be sure
all moving parts have stopped and the tool has been
unplugged before clearing any obstructions. Failure to
follow these instructions can result in serious personal
injury.
z To clear the tines or the tine shaft, release the switch
trigger. Wait for the tines to stop and disconnect the tool
from the power supply. Dislodge the debris from the tines
or the tine shaft.
z Always wear gloves when clearing the tines or the tine shaft.
z Some parts of the tool can freeze under extreme weather
conditions. Do not attempt to operate the unit with frozen
parts.
z To use the tool most efficiently:
• Make two passes over the area being tilled. Make
the second pass perpendicular to the first pass.
• Make two passes over the area being tilled. Make
the second pass overlap the first pass.
z This tool has a path 6.3 in. (16 cm) wide and up to 6 in.
(15.2 cm) deep in one pass.
z Keep the cord clear of obstructions, sharp objects and the
rotating paddles. Do not pull sharply on the cord or abuse
it in any manner. Frequently inspect the cord for signs of
damage. If damage is found, contact customer service.
z Disconnect the extension cord after using the electric
tool. Hang the extension cord with the tool so it will not
be misplaced or damaged.
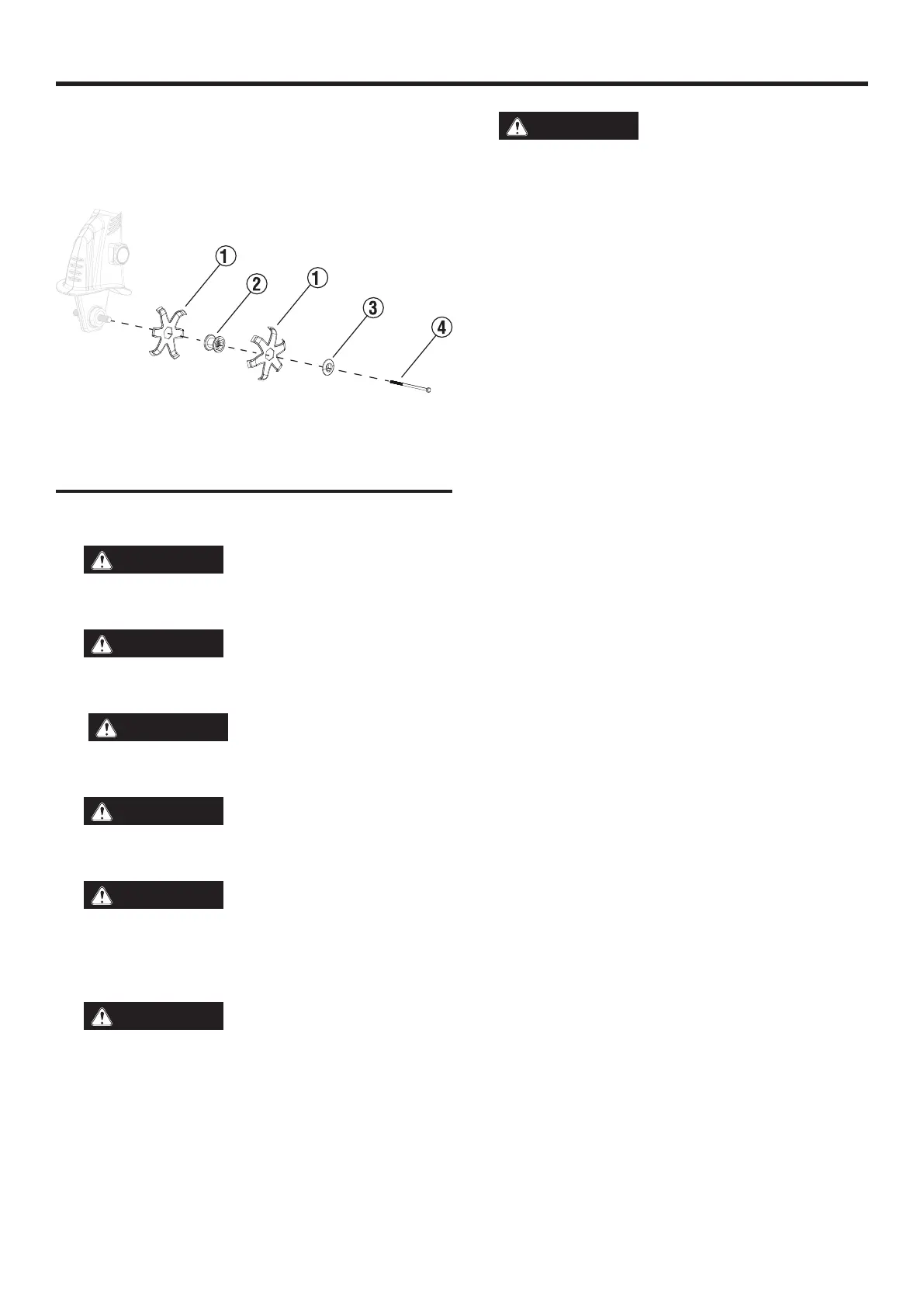
FIG. 6
Bekijk gratis de handleiding van Westinghouse W6TCAC, stel vragen en lees de antwoorden op veelvoorkomende problemen, of gebruik onze assistent om sneller informatie in de handleiding te vinden of uitleg te krijgen over specifieke functies.
Productinformatie
| Merk | Westinghouse |
| Model | W6TCAC |
| Categorie | Niet gecategoriseerd |
| Taal | Nederlands |
| Grootte | 4657 MB |







