Westinghouse 72259 handleiding
Handleiding
Je bekijkt pagina 43 van 96

43
GS-26-Morris-WH20.07
GB
D
F
I
NL
E
P
N
S
FIN
DK
PL
RUS
UA
EST
LV
LT
SK
CZ
SLO
HR
H
BG
RO
GR
TR
9
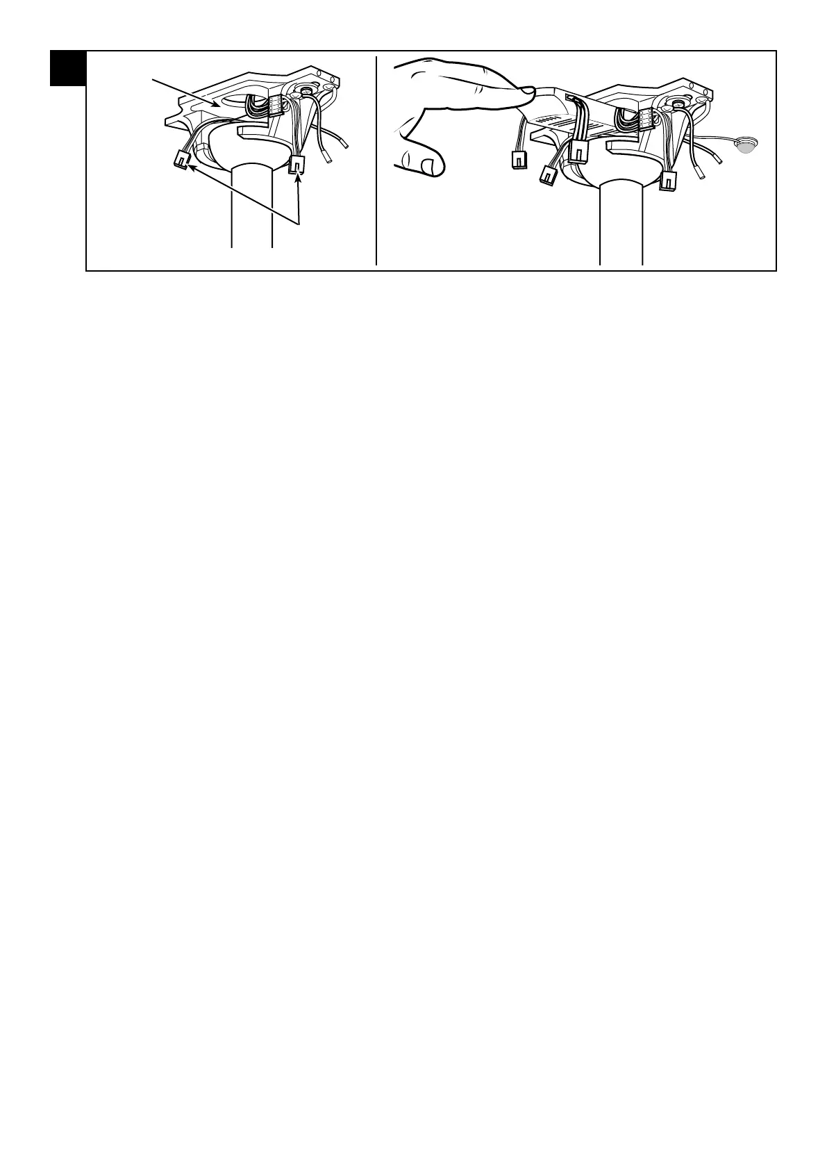
After hanging fan onto the mounting bracket, make sure plug connectors from the ceiling fan and terminal block (1) are moved away from the space located above
the downrod ball (2). Slide the remote receiver into the space above the downrod ball as shown.
Nach dem Befestigen des Ventilators an der Decke darauf achten, dass die Steckverbindungen vom Deckenventilator und Anschlussblock (1) nicht über der
Sicherungskugel (2) hängen. Die Empfängereinheit in den Raum über der Sicherungskugel schieben (siehe Abbildung).
Après avoir accroché le ventilateur au support de montage, veillez à retirer les connecteurs provenant du ventilateur de plafond et du bloc de connexions (1) de l’espace
qui se situe au-dessus de la balle de la tige inférieure (2). Faites glisser le récepteur à distance dans l’espace au-dessus de la balle de la tige inférieure comme illustré.
Dopo aver sospeso il ventilatore sulla staffa, verificare che i connettori della presa del ventilatore e il blocchetto dei terminali (1) siano stati allontanati dallo spazio
sopra la sfera dell'asta di prolunga (2). Far scorrere il ricevitore telecomandato nello spazio sopra questa sfera, nel modo illustrato.
Wanneer de ventilator aan de plafondbeugel gehangen is moeten de stekkers van de plafondventilator en het kroonsteentje (1) uit de ruimte boven de stangkogel
(2) gehaald worden. Schuif de ontvanger in de ruimte boven de stangkogel (zie illustratie).
Luego de montar el ventilador sobre la pieza de fijación, asegúrese de que los enchufes conectores del ventilador de techo y el bloque de terminales (1) queden
separados del espacio ubicado sobre la bola de la varilla vertical (2). Deslice el receptor remoto en el espacio encima la bola de la varilla vertical tal como se indica.
Depois de pendurar a ventoinha no suporte de montagem, certifique-se que os conectores da tomada da ventoinha de tecto e do bloco terminal (1) são retirados do espaço que se
encontra por cima da esfera do tubo metálico (2). Deslize o receptor do telecomando receptor para o espaço por cima da esfera do tubo metálico, da forma que é mostrada.
Etter at viften er hengt på braketten, sørg for at strømkontaktene fra viften og koblingsklemmen (1) er flyttet vekk fra området over senkestangens kule (2). Før
fjernkontrollmottakeren inn i rommet over senkestangens kule som vist.
Sedan du hängt fläkten på monteringshållaren, försäkra dig om att stickkontakterna från takfläkten och anslutningsplinten (1) flyttas bort från utrymmet ovanför
stångkulan (2). Skjut in fjärrmottagaren i utrymmet ovanför stångkulan enligt bild.
Kun olet ripustanut tuulettimen kiinnittimeen, varmista, että tuulettimesta ja riviliittimestä tulevat pistokeliittimet (1) siirretään pois tangon pallon (2) yläpuolella
olevasta tilasta. Työnnä kauko-ohjaimen vastaanotin tangon pallon päällä olevaan tilaan kuvassa näytetyllä tavalla.
Efter ophængning af ventilator i monteringsholder, sørg for at stik fra loftventilator og klemmerække (1) er flyttet væk fra rummet oven over hængestangens kugle
(2). Flyt fjernmodtager ind i rummet oven over hængestangens kugle som vist.
Po zawieszeniu wentylatora na wsporniku upewnij się, że łączniki wtykowe od wentylatora sufitowego i łączówki (1) są usunięte z przestrzeni leżącej nad kulą pręta
(2). Wsuń odbiornik zdalnego sterowania w przestrzeń nad kulą pręta tak, jak pokazane jest na rysunku.
Подвесив вентилятор на кронштейн, следует убедиться в том, что штепсели вентилятора и распределительной коробки (1) убраны из пространства,
расположенного над шариком стержня (2). Поместить дистанционное приемное устройство в пространство над шариком стержня, как показано на рисунке.
Після підвішування вентилятора на монтажний кронштейн переконайтесь у тому, що штекерні з’єднувачі від стельового вентилятора та клемної колодки (1)
відведено від зони над кулею кріпильного штоку (2). Пересуньте дистанційний приймач у зону над кулею штоку, як вказано на ілюстрації.
Pärast ventilaatori paigalduskronsteinile riputamist veenduge, et ventilaatori ja klemmiploki (1) pistikud oleksid nihutatud eemale ümaral riputusvarda alusel (2) mär-
gitud kohast. Libistage kaugjuhtimisseadme vastuvõtja vastavale kohale riputusvarda ümaral alusel, nagu pildil näidatud.
Pēc ventilatora pieāķēšanas piestiprināšanas kronšteinam nodrošiniet, lai tapu konektori no griestu ventilatora un galējā bloka (1) tiek pārvietoti prom no zonas virs
stieņa uz leju lodes (2). Ieslidiniet tālvadības uztvērēju vietā virs stieņa uz leju lodes, kā parādīts.
Pakabinę ventiliatorių ant tvirtinimo rėmo, įsitikinkite, kad jungtys iš ventiliatoriaus ir gnybtų bloko (1) patraukti į šalį nuo srities, esančios virš strypo rutulėlio (2).
Nuslinkite nuotolinį imtuvą į plotą virš strypo rutulėlio taip, kaip parodyta.
Po zavesení ventilátora na montážny držiak skontrolujte, či sa prípojky zo stropného ventilátora a svorkovnice (1) nachádzajú mimo priestoru nachádzajúceho sa nad
guľou závesnej tyče (2). Zasuňte prijímač do priestoru nad guľou závesnej tyče podľa obrázka.
Po zavěšení ventilátoru na montážní konzolu zkontrolujte, zda jsou konektory ze stropního ventilátoru a ze svorkovnice (1) přesunuty mimo prostor umístěný nad
závěsnou tyčí (2). Přesuňte snímač signálu dálkového ovladače do prostoru nad závěsnou tyčí, jak je uvedeno na obrázku.
Ko ventilator visi na stropni plošèi, morajo biti konektorji iz stropnega ventilatorja in prikljuènega dela (1) odstranjeni iz obmoèja nad kroglo (2) na viseèi cevi.
Potisnite daljinski sprejemnik v prostor nad kroglo viseèe cevi, kot je prikazano na sliki.
Nakon vješanja stropnog ventilatora na ploču za postavljanje, pazite da utikač konektora sa stropnog ventilatora i priključnica (1) budu odmaknuti od prostora iznad
kuglice noseće cijevi (2). Daljinski prijamnik kliznite na mjesto iznad kuglice noseće cijevi kako je prikazano.
A ventilátornak a rögzítőlapra történő felfüggesztése után ügyeljen rá, hogy a mennyezeti ventilátor csatlakozódugói és az (1) sorkapocs el legyen távolítva a
függesztőrúd gömbje fölötti (2) területről. Az ábrán látható módon a távirányító vevőegységét csúsztassa be a függesztőrúd gömbje fölötti szabad térbe.
След като окачите вентилатора на монтажната скоба, моля разположете щивтовите контакти на таванния вентилатор и терминалния блок (1) далеч от
пространството над сферичния елемент на вертикалната електроинсталационна тръба (2). Следвайки указанията с приплъзване вкарайте приемника на
дистанционното управление в пространството над сферичния елемент на вертикалната електроинсталационна тръба.
După ce aţi atârnat ventilatorul pe consola de montare, verificaţi dacă ştecărele ventilatorului de tavan si a blocului terminal (1) sunt date într-o parte din spaţiul de
deasupra barei de susţinere (2). Glisaţi receptorul telecomandei în spaţiul de deasupra bilei de la bara de susţinere, după cum se indică ca în ilustraţie.
Αφού κρεμάσετε τον ανεμιστήρα στη βάση στήριξης, βεβαιωθείτε ότι τα βύσματα σύνδεσης από τον ανεμιστήρα οροφής και το συγκρότημα τερματικών (1) έχουν
απομακρυνθεί από το χώρο που βρίσκεται πάνω από τη σφαίρα της βέργας ανάρτησης (2). Γλιστρήστε τον απομακρυσμένο δέκτη μέσα στο χώρο πάνω από τη
σφαίρα της βέργας ανάρτησης όπως φαίνεται. Pervaneyi bağlantı plakasına astıktan sonra, tavan vantilatörü ve terminal bloğundan (1) gelen fişlerin Askı çubuğu
topunun (2) üstünde bulunan boşluktan uzağa çekilmiş olduğuna emin olunuz. Şekilde görüldüğü gibi uzaktan kumanda alıcısını Askı çubuğu topunun üstündeki
boşluğa kaydırınız.
2
1
Bekijk gratis de handleiding van Westinghouse 72259, stel vragen en lees de antwoorden op veelvoorkomende problemen, of gebruik onze assistent om sneller informatie in de handleiding te vinden of uitleg te krijgen over specifieke functies.
Productinformatie
| Merk | Westinghouse |
| Model | 72259 |
| Categorie | Ventilator |
| Taal | Nederlands |
| Grootte | 11019 MB |







