Westinghouse 72259 handleiding
Handleiding
Je bekijkt pagina 34 van 96

GS-26-Morris-WH20.07
34
HR H BG RO GR TR
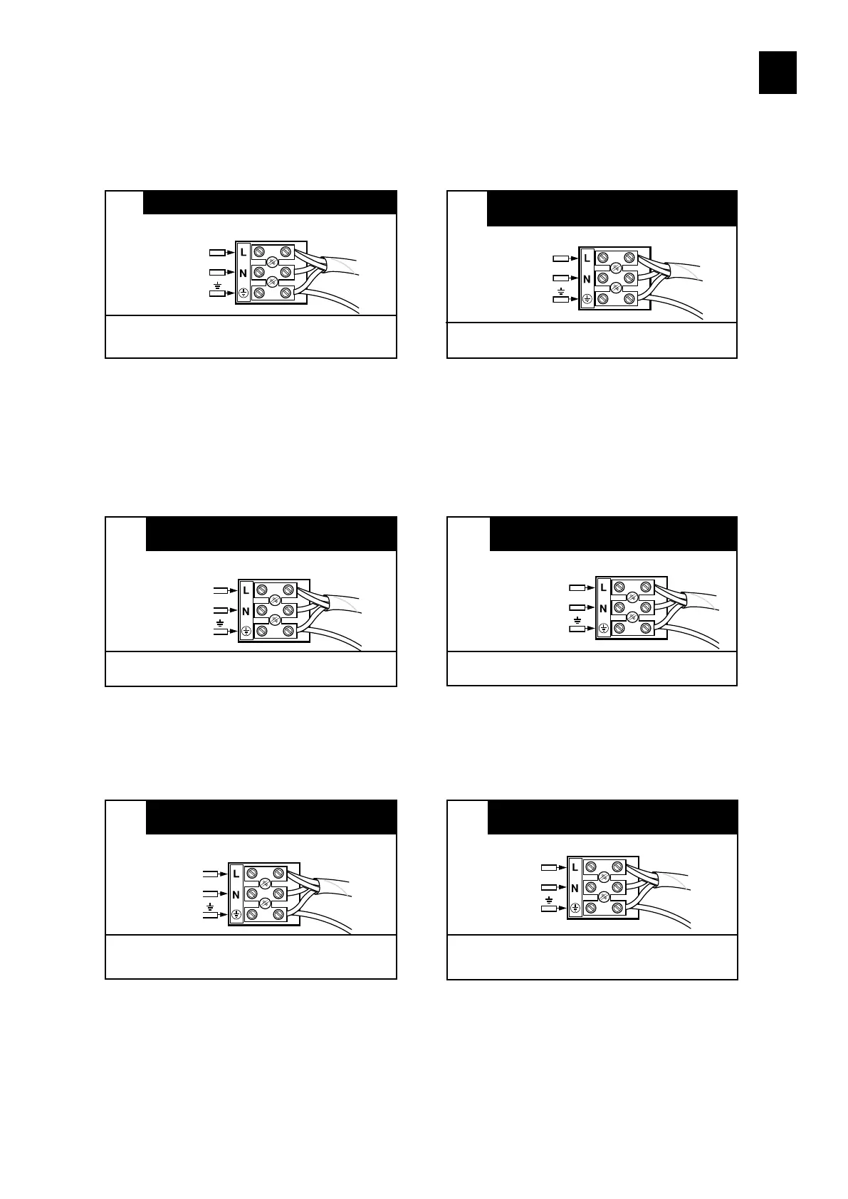
Προς το
συνδετήρα:
Ενεργό (L)
Ουδέτερο (Ν)
Γείωση
Από το σπίτι:
ΣΥΓΚΡΟΤΗΜΑ
ΤΕΡΜΑΤΙΚΩΝ
Καλωδίωση:
GR
Ακολουθήστε το παραπάνω διάγραμμα για να
δρομολογήσετε τις συνδέσεις καλωδίου προς το
συγκρότημα τερματικών στη βάση στήριξης.
Na
konektor:
Faza (L)
Nula (N)
Uzemljenje
Izvor napajanja
kućne instalacije:
PRIKLJUČNICA
Za spajanje žica na priključnicu sklopa za postavljanje,
slijedite gornji crtež.
Ožičenje:
HR
A rögzítőlapon levő sorkapocs bekötéséhez a fenti ábra szerint
járjon el.
Csatlakozóhoz:
Fázis (L)
Nulla (N)
Föld
A háztól:
SORKAPOCS
Elektromos bekötés:
H
La cutia
clamei:
Pozitiv (= Live) (L)
Negative (N)
Impamantare
La casa:
Instalaţia electrică:
RO
Conectati cablul in corespondenta cu descrierea de
mai sus de cutia clamei de pe placa de tavan.
TABLOUL CLAMEI
Към
буксата:
Положително (= Live) (L)
Отрицателно (N)
Заземяване
На къщата:
Електрически монтаж:
BG
Положете кабела в съответствие с горното изображение към
свързващия блок на таванната плочка.
КЛЕМНО ТАБЛО
Konektöre:
Elektrikli
(E):Nötr (N)
Toprak
Gövdeden:
TERMINAL BLOK
Kablolar:
TR
Kelepçedeki terminal bloğa kablo bağlantılarını yapmak
için yukarıdaki şemayı takip ediniz.
3
Bekijk gratis de handleiding van Westinghouse 72259, stel vragen en lees de antwoorden op veelvoorkomende problemen, of gebruik onze assistent om sneller informatie in de handleiding te vinden of uitleg te krijgen over specifieke functies.
Productinformatie
| Merk | Westinghouse |
| Model | 72259 |
| Categorie | Ventilator |
| Taal | Nederlands |
| Grootte | 11019 MB |







