Westinghouse 72249 handleiding
Handleiding
Je bekijkt pagina 89 van 148

89
GS-26-Widespan-72249-WH19
GB D F I NL E P
8
Al
conector:
Polo vivo (L)
Neutro (N)
A tierra
De la caja:
BLOQUE DE TERMINALES
Kabel entsprechend der obigen Abbildung zum
Anschlussblock an die Deckenplatte verlegen.
Zur
Buchse:
Positiv (= Live) (L)
Negativ (N)
Erdung
Vom Haus:
KLEMMBLOCK
Afin de raccorder les fils au bloc de connexions sur le
support de montage, veuillez suivre le schéma ci-dessus.
Vers le
connecteur :
Sous tension (L)
Neutre (N)
Mise à la terre
De la résidence :
BLOC DE CONNEXIONS
Siga las instrucciones del diagrama anterior para hacer las
conexiones de cableado al bloque de terminales para
la pieza de fijación.
VERKABELUNG
RACCORDEMENT
CABLEADO
D
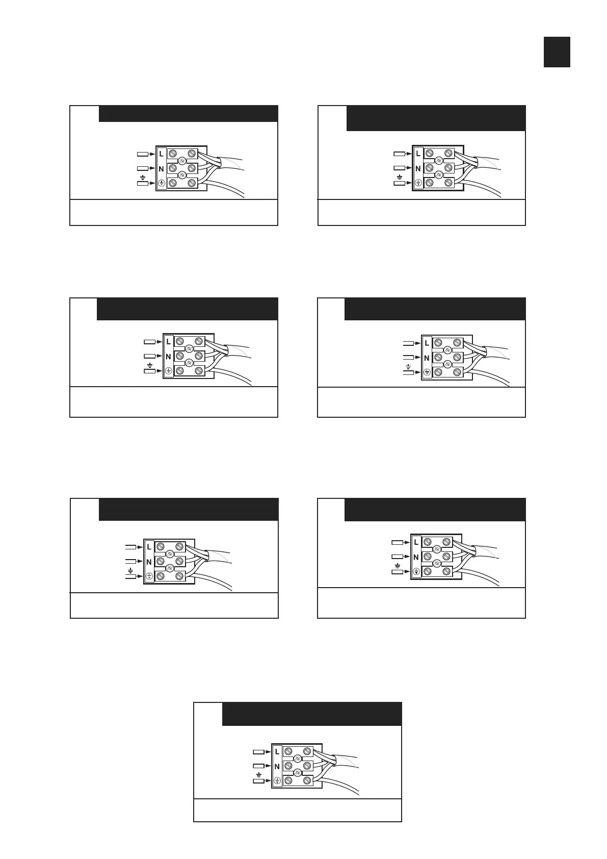
Follow diagram above to make wiring connections to the termi-
nal block on the mounting bracket.
To
Connector:
Live (L)
Neutral (N)
Ground
From House:
TERMINAL BLOCK
WIRING
GB
F
E
Attenersi allo schema di cui sopra per il cablaggio del
blocchetto terminali alla staffa di montaggio.
Al
connettore:
Conduttore elettrico (L)
Conduttore neutro (N)
Massa
Dall’edificio:
BLOCCHETTO
TERMINALI
CABLAGGIO
I
Volg het bovenstaande schema om de bedrading met het kroonsteentje
op de montagebeugel te verbinden.
Naar stekker:
Van behuizing:
KROONSTEENTJE
BEDRADING
Onder stroom (L)
Nuldraad (N)
Aardedraad
Ligação ao
conector:
Pólo vivo ou fase (L)
Neutro (N)
Ligação à terra
Ligação vinda da caixa:
BLOCO DE TERMINAIS
Seguir as instruções do diagrama acima para fazer as ligações
dos fios ao bloco de terminais da peça de fixação.
INSTALAÇÃO ELÉCTRICA
NL
P
Bekijk gratis de handleiding van Westinghouse 72249, stel vragen en lees de antwoorden op veelvoorkomende problemen, of gebruik onze assistent om sneller informatie in de handleiding te vinden of uitleg te krijgen over specifieke functies.
Productinformatie
| Merk | Westinghouse |
| Model | 72249 |
| Categorie | Ventilator |
| Taal | Nederlands |
| Grootte | 15049 MB |







