Wesco 272973 handleiding

11 pagina's
PDF beschikbaar

Handleiding

Je bekijkt pagina 6 van 11
Page6of11

Heavy Duty Scissors Lift Tables
(Part # 272970 & 272973)
Instruction Manual
ATTENTION: TO INSURE SAFE AND EASY USE OF YOUR SCISSORS LIFT TABLE,
READ THESE INSTRUCTIONS ENTIRELY BEFORE USING.
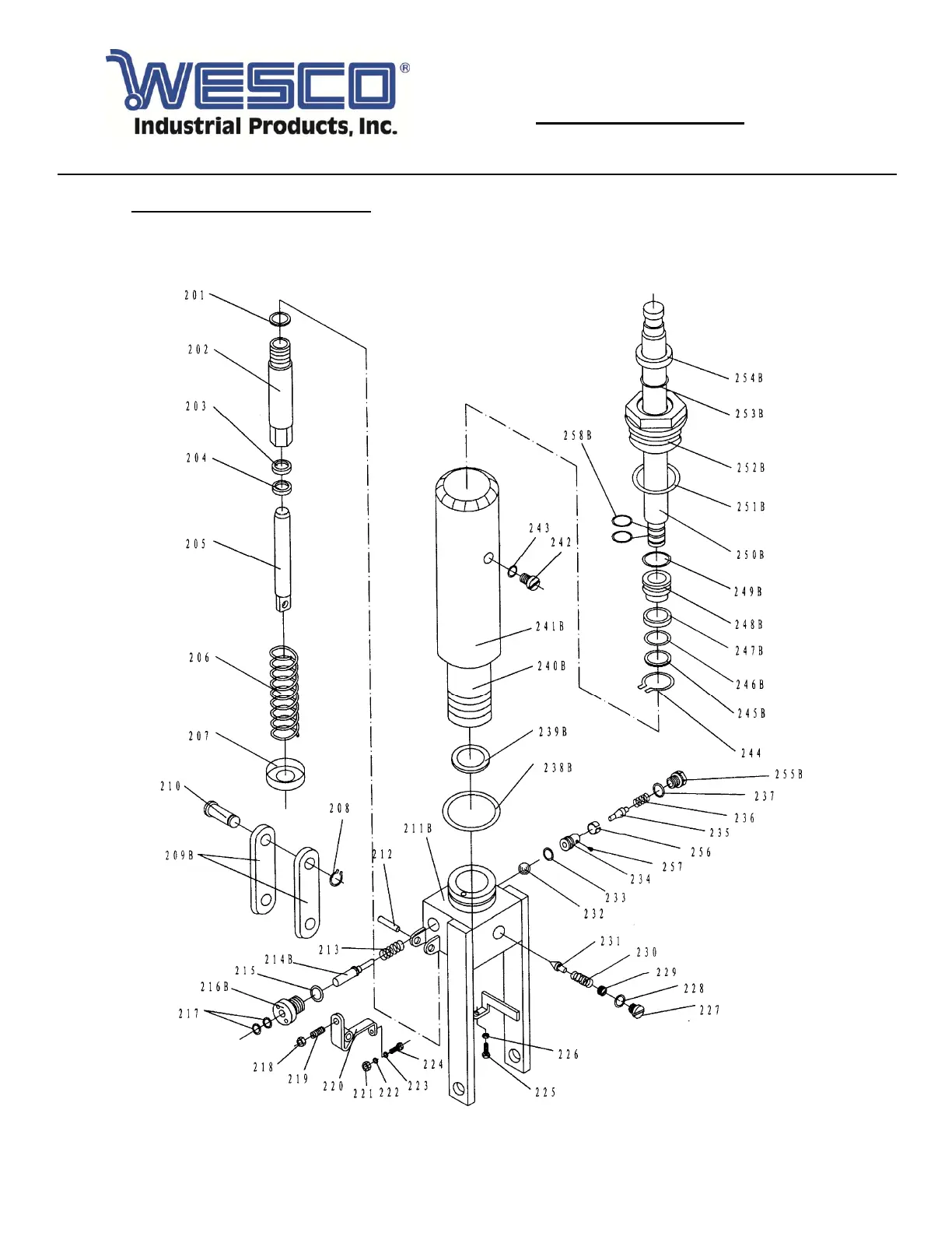
6. 272970 PART INFORMATION
6.3 272970 PUMP PART DIAGRAM

Bekijk gratis de handleiding van Wesco 272973, stel vragen en lees de antwoorden op veelvoorkomende problemen, of gebruik onze assistent om sneller informatie in de handleiding te vinden of uitleg te krijgen over specifieke functies.

Productinformatie

MerkWesco
Model272973
CategorieNiet gecategoriseerd
TaalNederlands
Grootte2697 MB