Wesco 272748 handleiding
Handleiding
Je bekijkt pagina 8 van 9

Page8of9
©Copyright2020WESCOIndustrialProducts,LLC.Specificationssubjecttochange.Notresponsibleforerrorsoromissions.
Standard Deluxe Pallet Truck
(Part # 272136, 272142, 272148, 272736, 272742, 272748)
Instruction Manual
ATTENTION: TO INSURE SAFE AND EASY USE OF YOUR WESCO PALLET
TRUCK, READ THESE INSTRUCTIONS ENTIRELY BEFORE USING.
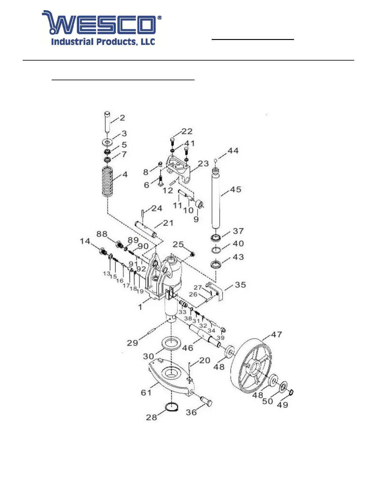
8. HYDRAULIC SYSTEM PART INFORMATION
8.1 HYDRAULIC SYSTEM PARTS DIAGRAM
Bekijk gratis de handleiding van Wesco 272748, stel vragen en lees de antwoorden op veelvoorkomende problemen, of gebruik onze assistent om sneller informatie in de handleiding te vinden of uitleg te krijgen over specifieke functies.
Productinformatie
| Merk | Wesco |
| Model | 272748 |
| Categorie | Niet gecategoriseerd |
| Taal | Nederlands |
| Grootte | 2957 MB |







