Waring Commercial Torq 2.0 TBB175 handleiding
Handleiding
Je bekijkt pagina 27 van 40

27
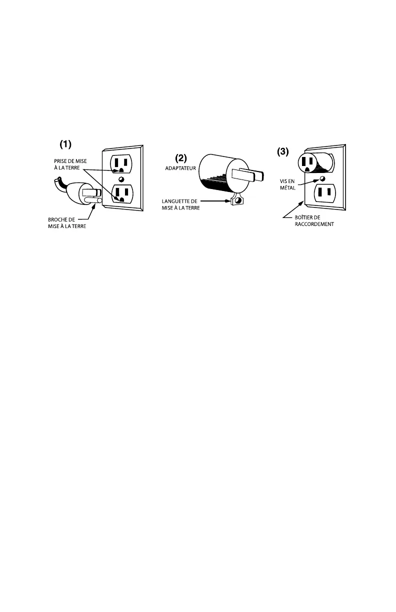
broches. Cette che doit être branchée dans une prise de terre
correctement congurée (Fig. 1).
Vous pouvez utiliser un adaptateur temporaire (Fig. 2) pour
brancher l’appareil dans une prise polarisée jusqu’à ce que vous
fassiez installer une prise de terre par un électricien.
An d'assurer la mise à la terre, la languette de l’adaptateur doit
être xée au boîtier par une vis en métal (Fig. 3).
ATTENTION: vérier que le boîtier est mis à la terre avant
d'utiliser l'adaptateur. En cas de doute, demander conseil à un
électricien.
Ne jamais utiliser un adaptateur, à moins qu'il ne soit
correctement mis à la terre.
REMARQUE: l’utilisation d’un adaptateur comme celui
mentionné ci-dessus est interdite au Canada.
SPÉCIFICATIONS TECHNIQUES:
• Capacité: 1.4L (48 onces)
• Spécications électriques: 120V, 60Hz, 13.0 Amp.
• Socle: polycarbonate
• Palier: palier à roulement à billes de haute précision
• Cordon: 1.85 m (6 pieds), avec prise de terre et manchon
renforcé
• Hauteur: 43cm (17 po.)
• Certication cETLus et NSF
• Cycle de fonctionnement:
1 minute de marche/3 minutes de repos
Contrôles:
TBB145 / TBB160 – LO (20500 tr/min), HI (24000 tr/min), PULSE
(24000 tr/min)
TBB175 – Vitesse variable de 1500 à 20000 tr/mn + PULSE
(24000 tr/min)
Bekijk gratis de handleiding van Waring Commercial Torq 2.0 TBB175, stel vragen en lees de antwoorden op veelvoorkomende problemen, of gebruik onze assistent om sneller informatie in de handleiding te vinden of uitleg te krijgen over specifieke functies.
Productinformatie
| Merk | Waring Commercial |
| Model | Torq 2.0 TBB175 |
| Categorie | Blender |
| Taal | Nederlands |
| Grootte | 3531 MB |



