Waring Commercial Blade BB340 handleiding
Handleiding
Je bekijkt pagina 15 van 36

15
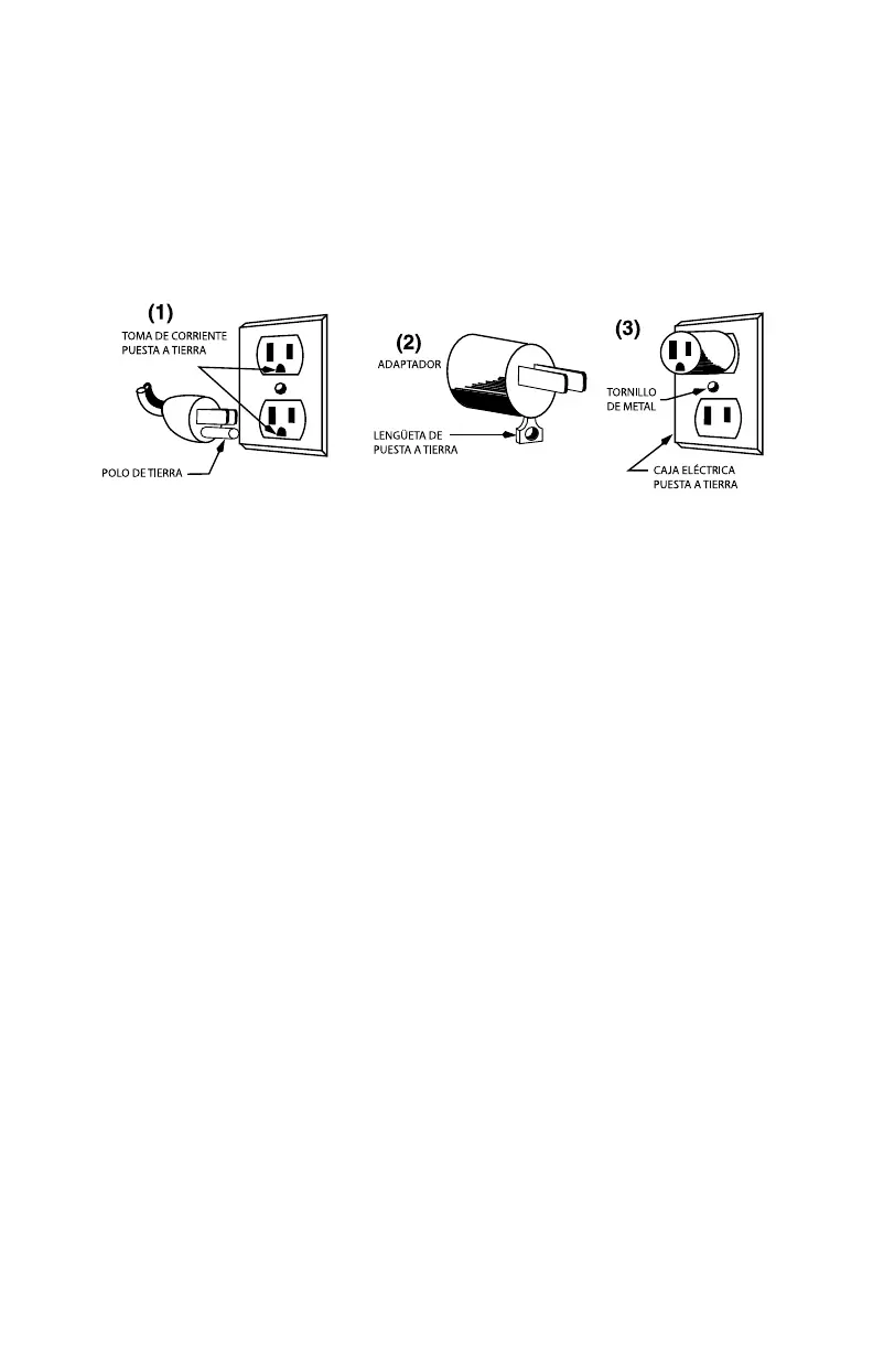
INSTRUCCIONES DE PUESTA A TIERRA
• Para su protección, este aparato está equipado con un
cable de puesta a tierra.
• Los cables de los aparatos de 120V están dotados de un
enchufe con puesta a tierra, el cual debe ser conectado a
una toma de corriente debidamente puesta a tierra (Fig. 1).
Si una toma de corriente puesta a tierra no está disponible,
se podrá usar un adaptador para conectar el aparato a una
toma de corriente polarizada (Fig. 2).
El adaptador debe ser puesto a tierra mediante un tornillo de
metal que conecte la lengüeta del adaptador a la placa de la
toma de corriente (Fig. 3).
PRECAUCIÓN: antes de conectar el adaptador, asegúrese
de que la toma de corriente esté puesta a tierra. Si no está
seguro(a), comuníquese con un electricista.
Nunca use un adaptador sin estar seguro de que la toma de
corriente está puesta a tierra.
NOTA: está prohibido usar un adaptador en el Canadá.
ANTES DEL PRIMER USO
Antes del primer uso y si no ha usado el aparato por un
largo período de tiempo, siga las instrucciones de limpieza
detalladas en la sección “Instrucciones de limpieza y
desinfección” (página 8). Seque bien la jarra antes de
colocarla sobre la base.
Bekijk gratis de handleiding van Waring Commercial Blade BB340, stel vragen en lees de antwoorden op veelvoorkomende problemen, of gebruik onze assistent om sneller informatie in de handleiding te vinden of uitleg te krijgen over specifieke functies.
Productinformatie
| Merk | Waring Commercial |
| Model | Blade BB340 |
| Categorie | Blender |
| Taal | Nederlands |
| Grootte | 2476 MB |



