Waring Commercial Blade BB300 handleiding
Handleiding
Je bekijkt pagina 4 van 36

4
GROUNDING INSTRUCTIONS
• For your protection, Waring
®
Commercial Blenders are
equipped with a 3-conductor cord set.
• 120 volt units are supplied with a molded 3-prong
grounding-type plug and should be used in combination
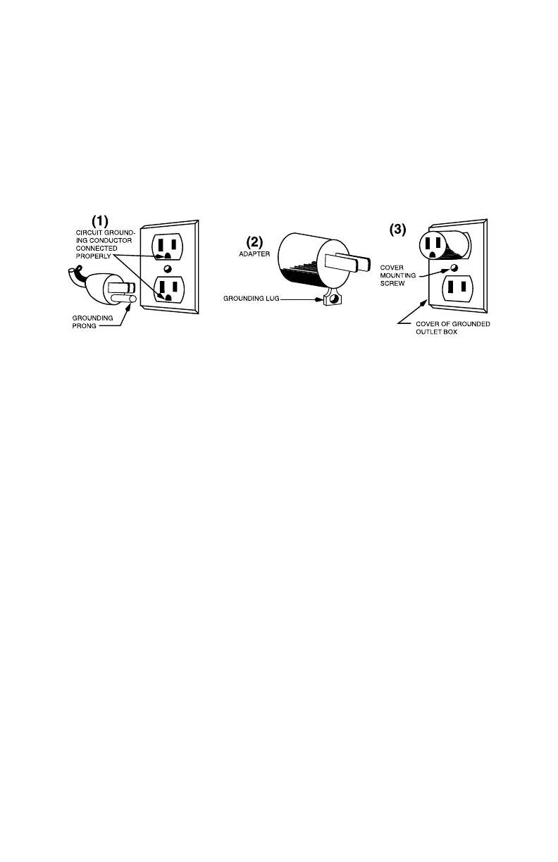
with a properly connected grounding-type outlet, as
shown in Figure 1.
If a grounding-type outlet is not available, an adapter, shown
in Figure 2, may be obtained to enable a 2-slot wall outlet to
be used with a 3-prong plug.
Referring to Figure 3, the adapter must be grounded by
attaching its grounding lug under the screw of the outlet
cover plate.
CAUTION: Before using an adapter, it must be determined
that the outlet cover plate screw is properly grounded. If in
doubt, consult a licensed electrician.
Never use an adapter unless you are sure it is properly
grounded.
NOTE: Use of an adapter is not permitted in Canada.
BEFORE FIRST USE
Follow the cleaning and sanitizing instructions on page 8
before rst use and if you have not used your blender for a
period of time. Thoroughly dry the container before placing it
on the base.
Bekijk gratis de handleiding van Waring Commercial Blade BB300, stel vragen en lees de antwoorden op veelvoorkomende problemen, of gebruik onze assistent om sneller informatie in de handleiding te vinden of uitleg te krijgen over specifieke functies.
Productinformatie
| Merk | Waring Commercial |
| Model | Blade BB300 |
| Categorie | Blender |
| Taal | Nederlands |
| Grootte | 2476 MB |



