Vox LCT6BD handleiding
Handleiding
Je bekijkt pagina 21 van 47

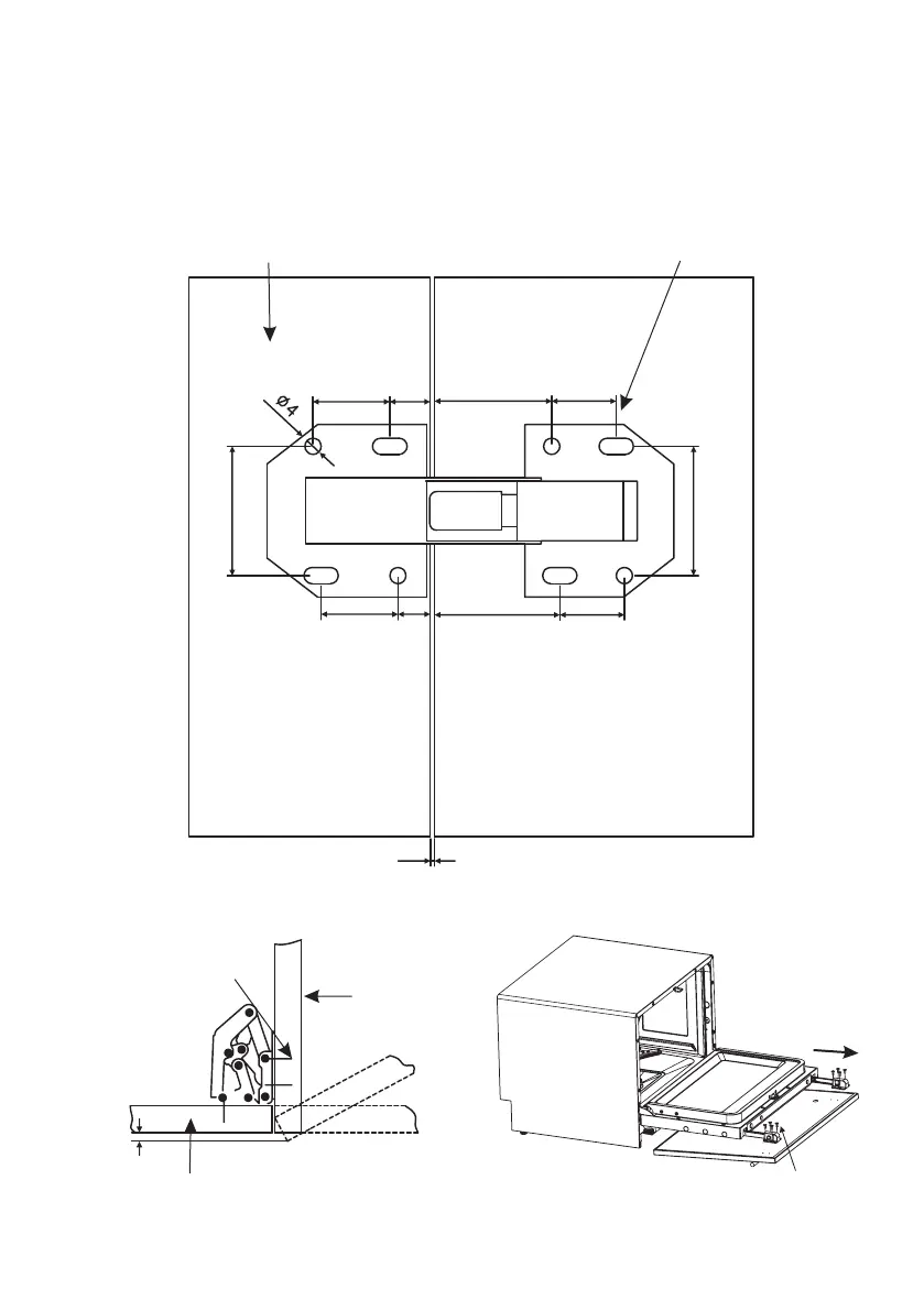
Step 4:
Assemble the decorative door on the dishwasher, as figure. First install screw between
the cabinet base board and decorative panel, in all 16; then pull glide from out door
groove, case 8-screw between decorative panels and glide .
Screw, in all 8
Cabinet base board
Decorative panel
Screw,in all 16
Decorative panel
Cabinet base board
Install the hingle by screw,in all 16
6
19 10 29 16
32
32
19 168 31
3
21
Bekijk gratis de handleiding van Vox LCT6BD, stel vragen en lees de antwoorden op veelvoorkomende problemen, of gebruik onze assistent om sneller informatie in de handleiding te vinden of uitleg te krijgen over specifieke functies.
Productinformatie
Merk | Vox |
Model | LCT6BD |
Categorie | Vaatwasser |
Taal | Nederlands |
Grootte | 3600 MB |