Handleiding
Je bekijkt pagina 17 van 234

15
The bottom surface and the power cord of the hob are not accessible after installation.
Check with an electrician whether the domestic wiring system is suitable without alterations.
Any alterations must only be made by a qualified electrician.
This hob must be connected to the mains power supply only by a suitably qualified person.
Before connecting the hob to the mains power supply, check that:
1. The domestic wiring system is suitable for the power drawn by the hob.
2. The voltage corresponds to the value given in the rating plate.
3. The power supply cable sections can withstand the load specified on the rating plate.
To connect the hob to the mains power supply, do not use adapters, reducers, or branching
devices, as they can cause overheating and fire.
The power supply cable must not touch any hot parts and must be positioned so that its
temperature will not exceed 75˚C at any point.
• If the cable is damaged or to be replaced, the operation must be carried out the by after-sale agent
with dedicated tools to avoid any accidents.
• If the appliance is being connected directly to the mains an omnipolar circuit-breaker must be
installed with a minimum opening of 3mm between contacts.
• The installer must ensure that the correct electrical connection has been made and that it is compliant
with safety regulations.
• The cable must not be bent or compressed.
• The cable must be checked regularly and replaced by authorised technicians only.
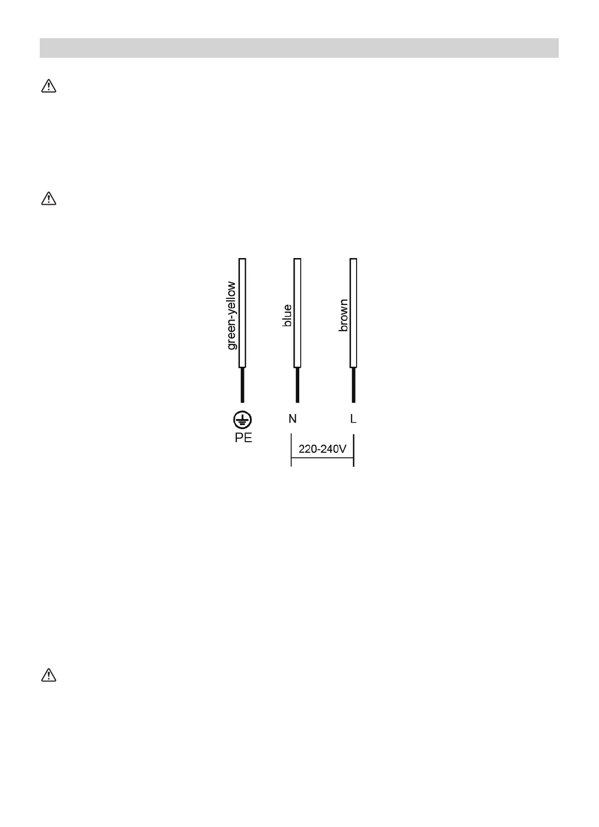
• The yellow/green wire of the power supply cable must be connected to the earth of both power
supply and appliance terminals.
• The manufacturer cannot be held responsible for any accidents resulting from the use of an appliance
which is not connected to earth, or with faulty earth connection continuity.
• If the appliance has a socket outlet, it must be installed so that the socket outlet is accessible.
The power supply should be connected in compliance with the relevant standard, or a single-pole
circuit breaker. The method of connection is shown below.
Connecting the Hob to the Mains Power Supply
Bekijk gratis de handleiding van Vox EBI220, stel vragen en lees de antwoorden op veelvoorkomende problemen, of gebruik onze assistent om sneller informatie in de handleiding te vinden of uitleg te krijgen over specifieke functies.
Productinformatie
Merk | Vox |
Model | EBI220 |
Categorie | Fornuis |
Taal | Nederlands |
Grootte | 21179 MB |