Voltcraft DOV702 handleiding
Handleiding
Je bekijkt pagina 6 van 37

Error! Use the Home tab to apply 标题 1 to the text that you want to appear
here..Error! Use the Home tab to apply 标题 1 to the text that you want to appear
here.
4
insulation
To avoid body damage and prevent product and connected equipment
damage, carefully read the following safety information before using the test
tool. This product can only be used in the specified applications.
Warning:
The four channels of the oscilloscope are not electrically isolated. The
channels should adopt a common ground during measuring. To prevent
short circuits, the 4 probe grounds must not be connected to 4 different
non-isolated DC levels.
Warning:
Note when measuring the channel to the public base, otherwise may
cause short circuit because of the oscilloscope probe ground wire.
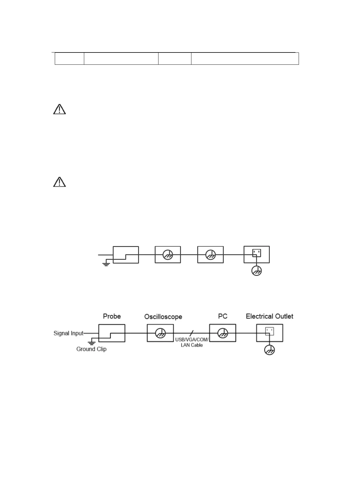
The diagram of the oscilloscope ground wire connection:
Ground Clip
Signal Input
Electrical Outlet
Probe
AC Adapter
Oscilloscope
The diagram of internal ground connection when the instrument is
connected to the computer (AC power supply) via a port.
When the oscilloscope is powered by AC and connected to a
computer with AC power supply via a port, the primary side of the power
grid cannot be measured.
Bekijk gratis de handleiding van Voltcraft DOV702, stel vragen en lees de antwoorden op veelvoorkomende problemen, of gebruik onze assistent om sneller informatie in de handleiding te vinden of uitleg te krijgen over specifieke functies.
Productinformatie
Merk | Voltcraft |
Model | DOV702 |
Categorie | Niet gecategoriseerd |
Taal | Nederlands |
Grootte | 7226 MB |