Vollrath 40773 handleiding
Handleiding
Je bekijkt pagina 34 van 40

Bedienungsanleitung
2
DEUTSCH
Funktion und zWeck
Dieses Gerät ist zum Rühren von Teigen, Kuchenmischungen usw.
vorgesehen. Es ist nicht für den Haushalts-, industriellen- oder
Laborgebrauch bestimmt.
Funktionsmerkmale und bedienelemente
5
4
3
2
1
SPEED
TIMER
ON/
OFF
A
E
G
F
H
I
B
C
D
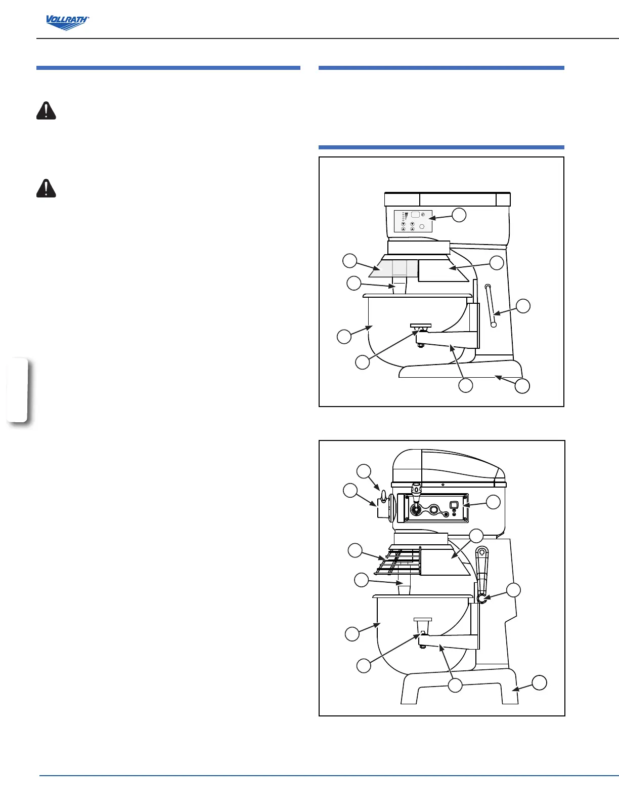
Abbildung 1. 6,6- und 11-l-Mixer – Funktionsmerkmale und
Bedienelemente.
A
B
C
D
E
F
G
H
I
J
K
Abbildung 2. 22- und 33-l-Mixer – Funktionsmerkmale und
Bedienelemente.
sicherheitsvorkehrungen
Für eine sichere Bedienung dieser Geräte lesen und beachten Sie die
folgenden Hinweise. Bitte lesen Sie diese sorgfältig durch.
ACHTUNG
Mit dem Wort „Achtung“ wird auf das Vorhandensein einer Gefahr
aufmerksam gemacht, die schwere Verletzungen, den Tod oder
erhebliche Sachschäden verursachen kann, wenn diese Warnung nicht
beachtet wird.
VORSICHT
Mit dem Wort „Vorsicht“ wird auf das Vorhandensein einer Gefahr
aufmerksam gemacht, die leichtere oder erhebliche Sachschäden
verursacht oder verursachen kann, wenn dieser Hinweis nicht
beachtet wird.
HINWEIS
Mit einem „Hinweis“ werden Installations-, Betriebs- oder
Wartungsinformationen übermittelt, die zwar wichtig sind, aber nicht auf
Gefahren aufmerksam machen.
Zu Ihrer Sicherheit!
Diese Vorsichtsmaßnahmen müssen jederzeit beachtet werden. Ein
Missachten dieser Vorsichtshinweise kann Verletzungen Ihrer eigenen
Person und anderer zur Folge haben.
So wird das Risiko von Verletzungen oder einer Beschädigung des Geräts
reduziert:
Das Gerät nur an geerdeten Steckdosen anschließen, deren Spannung
der auf dem Typenschild angegebenen Nennspannung entspricht.
Die Sicherheitsschalter nicht modizieren oder manipulieren.
Nicht unbeaufsichtigt bedienen.
Das Gerät nicht in öffentlichen Bereichen und/oder in der Nähe von
Kindern in Betrieb nehmen.
Kein Verlängerungskabel mit diesem Gerät verwenden. Dieses Gerät
nicht an einer Mehrfachsteckdose oder einem Netzkabel mit mehreren
Steckdosen anschließen.
Für beste Ergebnisse, Vollrath Anhänge werden empfohlen.
Vor jedem Gebrauch des Geräts sicherstellen, dass dieses sauber ist.
Zum Reinigen des Mixers keinen Schlauch verwenden. Die Außenächen
des Mixers mit einem feuchten Tuch abwischen.
Angemessene Kleidung tragen. Beim Betrieb dieses Geräts keine locker
sitzenden oder herabhängenden Kleidungsstücke tragen.
Das Gerät von einem qualizierten Techniker unter Beachtung der
geltenden Vorschriften und Bestimmungen installieren lassen.
Das Gerät auf einer achen, ebenen Stelläche verwenden.
Vor dem Reinigen oder Versetzen/Bewegen des Geräts das Netzkabel
abziehen, das Gerät ausschalten und es abkühlen lassen.
Die Bedienelemente und das Äußere des Geräts nicht mit Flüssigkeiten
oder Reinigungsmitteln besprühen.
Das Gerät nicht mit Stahlwolle reinigen.
Gerät und Netzkabel von offenen Flammen, elektrischen Kochstellen und
großer Hitze fern halten.
Das Gerät nicht in Betrieb nehmen, wenn es beschädigt wurde oder
irgendwelche Funktionsstörungen aufweist.
Während des Mixbetriebs keine an der Anschlussnabe aufgesteckten
Zubehörprodukte verwenden.
Bekijk gratis de handleiding van Vollrath 40773, stel vragen en lees de antwoorden op veelvoorkomende problemen, of gebruik onze assistent om sneller informatie in de handleiding te vinden of uitleg te krijgen over specifieke functies.
Productinformatie
Merk | Vollrath |
Model | 40773 |
Categorie | Niet gecategoriseerd |
Taal | Nederlands |
Grootte | 8556 MB |