Handleiding
Je bekijkt pagina 9 van 32

9
Range Features
OVENCLEAN
GRIDDLE CLEAN OVEN
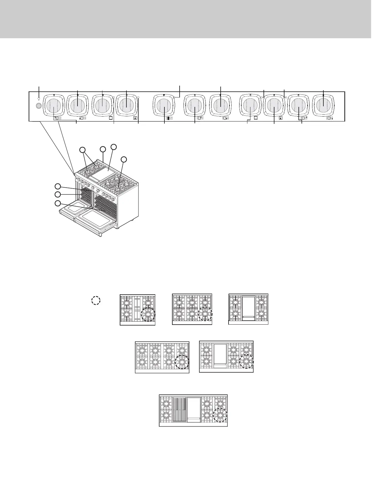
48” Four-Burner/Griddle model shown
Power Plus
Interior Oven
Light Switch
Left Rear Burner
Control Knob
(15,000 BTU)
Left Front Burner
Control Knob
(15,000 BTU)
Left Oven
Function
Selector Knob
Left Oven
Temperature
Indicator Light
Self-Clean
Indicator
Light
Griddle
Control
Knob
Left Oven
Temperature
Control Knob
Right Rear Burner
Control Knob
(15,000 BTU)
Right Front Burner
Control Knob
(18,500 BTU)
Griddle
Indicator Light
Right Oven
Function
Selector Knob
Right Oven
Temperature
Indicator Light
Self-Clean
Indicator
Light
Right Oven
Temperature
Control Knob
8
3
1
2
5
4
6
Dual Fuel
Convection-Self Clean
Center Rear Burner
Control Knob
(15,000 BTU)
Center Front Burner
Control Knob
(15,000 BTU)
30” (76 cm)
Four-Burner
36” (91 cm)
Six-Burner
36” (91 cm)
Four-Burner/Griddle
48” (122 cm)
Six-Burner/Griddle
48” (122 cm)
Eight Burner
Denotes models
which have a
18,500 BTU
TruPower Plus™
Burner
60” (152 cm)
Six-Burner/Grill/Griddle
Burner Configurations
1. 15,000 BTU burners
2. Right front 18,500 BTU power burner
3. Griddle (optional)
4. Identification plate (under control panel)
5. 18” Oven - Two standard tilt-proof rack/Six rack positions
6. 30” Oven - Three tilt-proof racks /Six rack positions
Bekijk gratis de handleiding van Viking VDR5364GSQ, stel vragen en lees de antwoorden op veelvoorkomende problemen, of gebruik onze assistent om sneller informatie in de handleiding te vinden of uitleg te krijgen over specifieke functies.
Productinformatie
| Merk | Viking |
| Model | VDR5364GSQ |
| Categorie | Fornuis |
| Taal | Nederlands |
| Grootte | 4332 MB |







