Videotec WASNX handleiding
Handleiding
Je bekijkt pagina 39 van 74

Manuel d’instructions - Français - FR
9MNVCWASNX_2222_FR
6.2 Connexion de la ligne
d'alimentation
Différentes tensions d'alimentation peuvent
être fournies au dispositif. La valeur de tension
d'alimentation est reportée sur l'étiquette
d'identification du produit (4.2 Marquage du produit,
page 5).
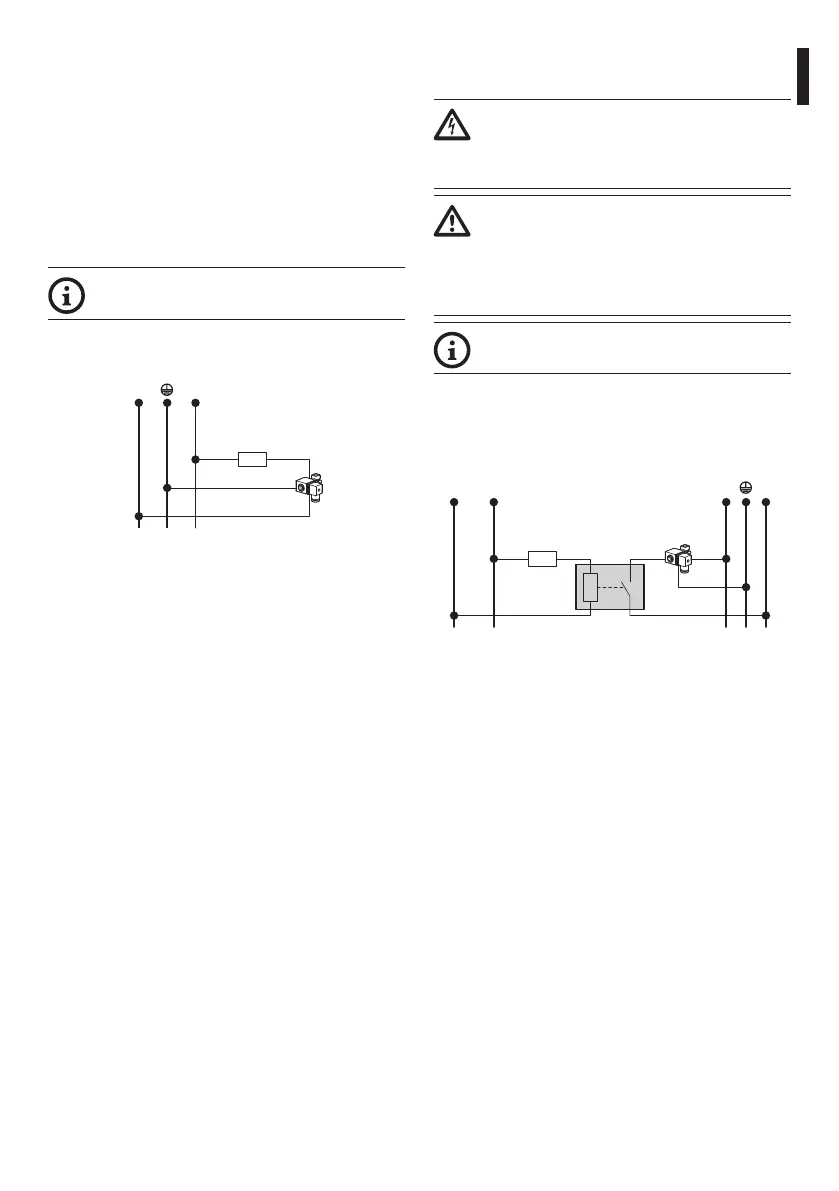
6.2.1 Connexion de la ligne
d'alimentation en 24Vac
Pour en savoir plus, consultez le manuel de
l’unité PTZ/Caméra.
L’électrovanne peut être directement activée via le
relais RL2 de l’unité PTZ/Caméra.
~ ~a
RL2
Fig. 16 Alimentation en 24Vac.
6.2.2 Raccordement de la ligne
d'alimentation en 120Vac et 230Vac
Utilisez un relais auxiliaire aux
spécifications électriques adaptées à la
tension d’alimentation et à l'absorption du
système de lavage.
Le relais (RL2 de la carte de l’unité PTZ) a les
caractéristiques décrites ci-dessous.
• Tension de travail: 30Vac max ou 60Vdc
max.
• Courant nominal: 1A max.
Pour en savoir plus, consultez le manuel de
l’unité PTZ.
L’électrovanne ne peut pas être activée directement
par le relais RL2 de l’unité PTZ.
Il est nécessaire d’utiliser également un relais
auxiliaire avec contact NO (Normally Open).
~/- ~/+ N La
RL2
Fig. 17 Alimentation en 120Vac ou 230Vac.
Bekijk gratis de handleiding van Videotec WASNX, stel vragen en lees de antwoorden op veelvoorkomende problemen, of gebruik onze assistent om sneller informatie in de handleiding te vinden of uitleg te krijgen over specifieke functies.
Productinformatie
| Merk | Videotec |
| Model | WASNX |
| Categorie | Niet gecategoriseerd |
| Taal | Nederlands |
| Grootte | 7440 MB |







