Videotec WASNX handleiding
Handleiding
Je bekijkt pagina 11 van 74

Instruction manual - English - EN
9MNVCWASNX_2222_EN
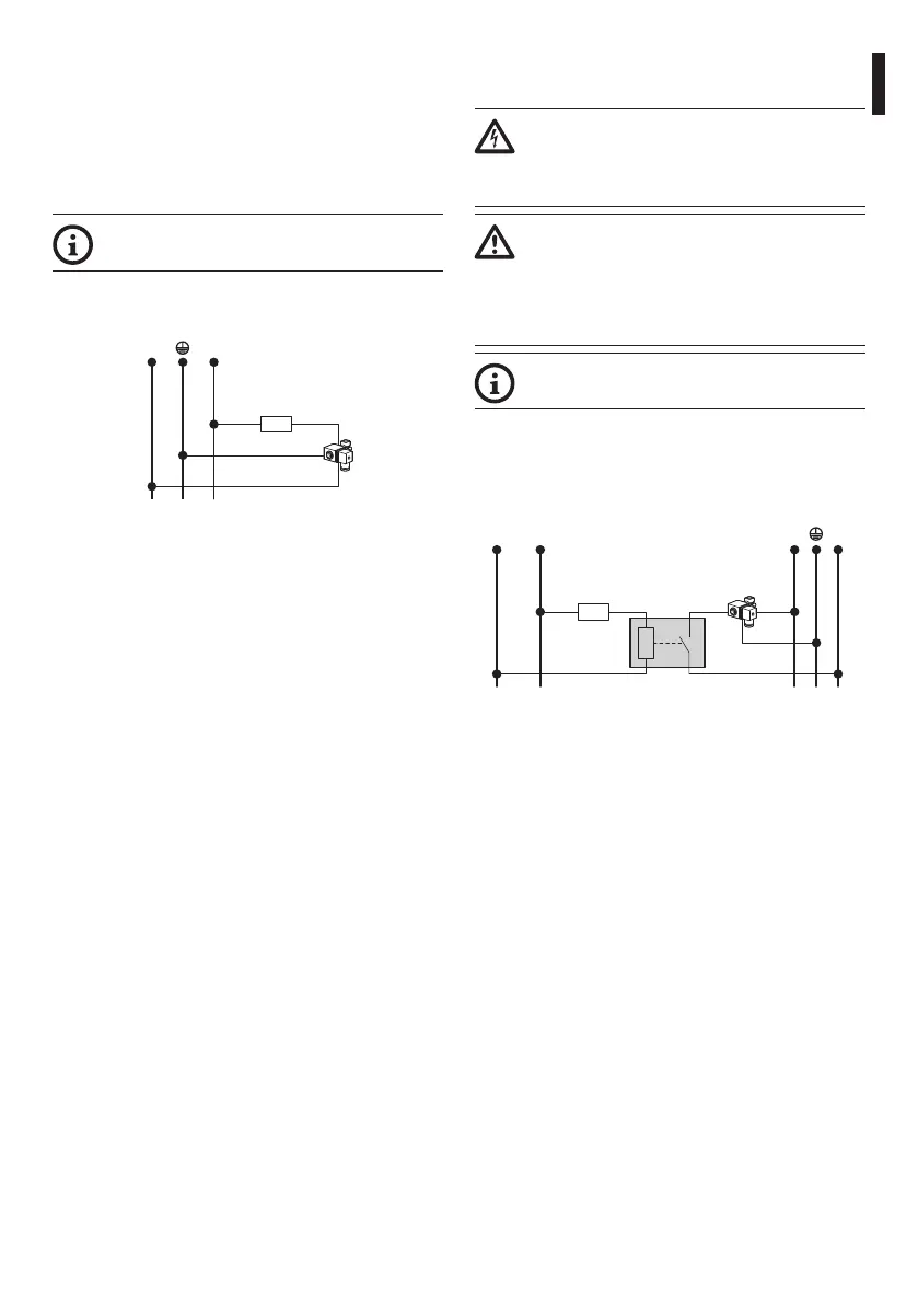
6.2 Connecting the power supply
The device can be provided with different power
supply voltages. The power supply voltage is
indicated on the product identification label. (4.2
Product marking, page 5).
6.2.1 24Vac power line connection
For further information, refer to the PTZ
unit/Camera manual.
The solenoid valve can be directly activated using the
PTZ unit/Camera RL2 relay.
~ ~a
RL2
Fig. 16 24Vac power supply.
6.2.2 120Vac and 230Vac power line
connection
Use an auxiliary relay with adequate
electrical specifications for the power
supply voltage and absorption of the wash
system.
The relay (RL2 on the PTZ unit board) has
the characteristics outlined below.
• Working voltage: 30Vac max or 60Vdc
max.
• Nominal current: 1A max.
For further information, refer to the PTZ
unit manual.
The solenoid valve cannot be directly activated using
the PTZ unit RL2 relay.
You also need to use an auxiliary relay with NO
(Normally Open) contact.
~/- ~/+ N La
RL2
Fig. 17 Power supply 120Vac or 230Vac.
Bekijk gratis de handleiding van Videotec WASNX, stel vragen en lees de antwoorden op veelvoorkomende problemen, of gebruik onze assistent om sneller informatie in de handleiding te vinden of uitleg te krijgen over specifieke functies.
Productinformatie
| Merk | Videotec |
| Model | WASNX |
| Categorie | Niet gecategoriseerd |
| Taal | Nederlands |
| Grootte | 7440 MB |







