Videotec MBXMP handleiding
Handleiding
Je bekijkt pagina 6 van 32

EN - English - Instruction manual
4 MNVKMBXMP_1926_EN
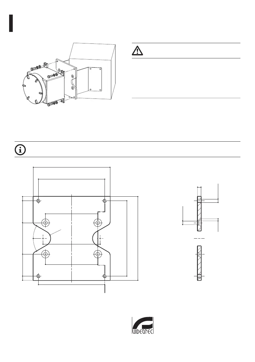
Then, x the box on the plate using the 4 at washers,
the 4 grower washers in stainless steel and the 4
hexagonal head screws in stainless steel (A4 class 70)
M10x30mm supplied.
Fig. 5
Make sure the thread are free of dirt and debris.
Apply a generous amount of threadlocker (Loctite
270) on the 4 threaded holes on the plate.
Tighten the screws.
Pay attention to the xing. Tightening
torque: 35Nm.
The thread compound must cure for one hour, allow
for this period prior to completing the installation.
7 Technical data
7.1 Mechanical
Dimensions: 220x240x10mm (8.7x9.4x0.4in)
8 Technical drawings
The indicated measurements are expressed in millimetres.
SECTION A-A
A
A
220
190
150
164
150
190
240
216
9063 63
R22.5
30°
30°
12 12
10.5 n°4
10
M10 n°4 6 x 45°
Fig. 6 MBXMP.
Headquarters Italy Videotec S.p.A.
Via Friuli, 6 - I-36015 Schio (VI) - Italy
Tel. +39 0445 697411 - Fax +39 0445 697414
Email: info@videotec.com
www.videotec.com
Bekijk gratis de handleiding van Videotec MBXMP, stel vragen en lees de antwoorden op veelvoorkomende problemen, of gebruik onze assistent om sneller informatie in de handleiding te vinden of uitleg te krijgen over specifieke functies.
Productinformatie
| Merk | Videotec |
| Model | MBXMP |
| Categorie | Niet gecategoriseerd |
| Taal | Nederlands |
| Grootte | 3181 MB |







