Videotec MBXMP handleiding
Handleiding
Je bekijkt pagina 30 van 32

KO -
한국어
-
지침 설명서
4 MNVKMBXMP_1926_KO
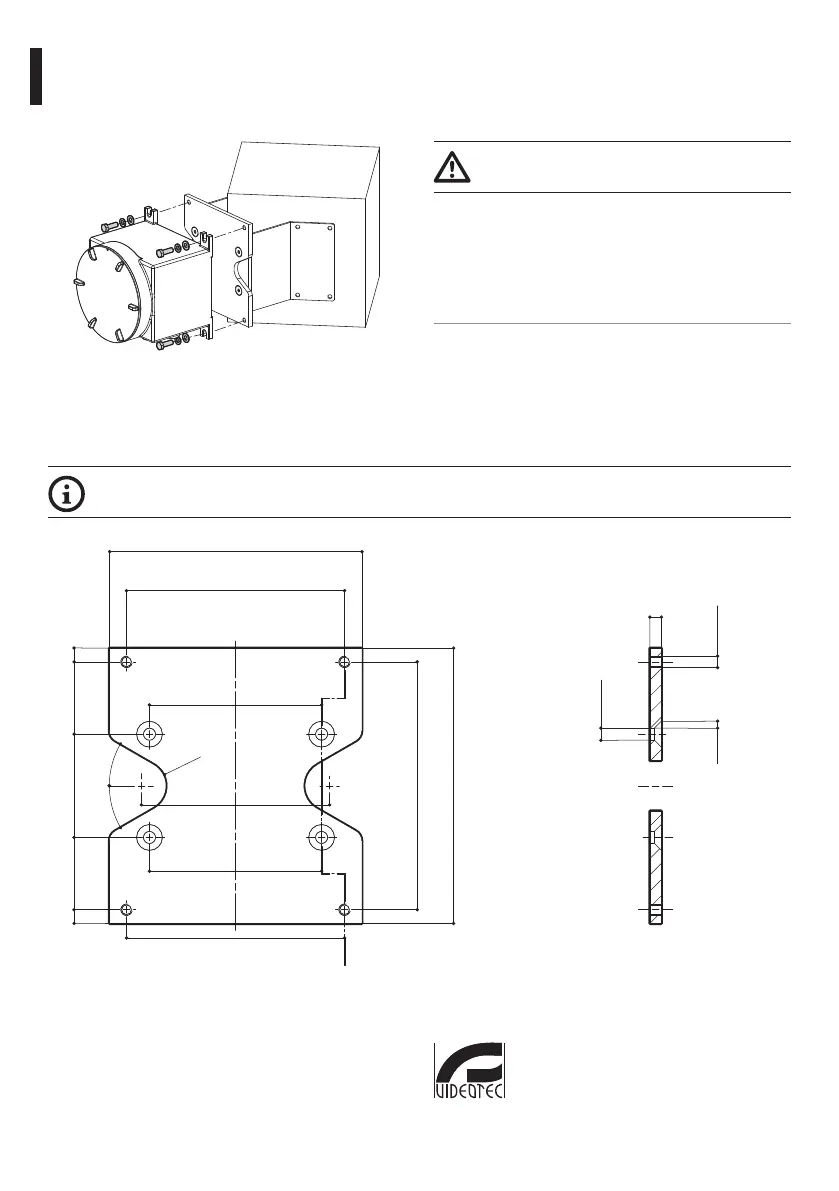
SECTION A-A
A
A
220
190
150
164
150
190
240
216
9063 63
R22.5
30°
30°
12 12
10.5 n°4
10
M10 n°4 6 x 45°
Headquarters Italy Videotec S.p.A.
Via Friuli, 6 - I-36015 Schio (VI) - Italy
Tel. +39 0445 697411 - Fax +39 0445 697414
Email: info@videotec.com
www.videotec.com
Bekijk gratis de handleiding van Videotec MBXMP, stel vragen en lees de antwoorden op veelvoorkomende problemen, of gebruik onze assistent om sneller informatie in de handleiding te vinden of uitleg te krijgen over specifieke functies.
Productinformatie
| Merk | Videotec |
| Model | MBXMP |
| Categorie | Niet gecategoriseerd |
| Taal | Nederlands |
| Grootte | 3181 MB |







