Videotec MBXMP handleiding
Handleiding
Je bekijkt pagina 22 van 32

RU - Русский - Руководство по эксплуатации
4 MNVKMBXMP_1926_RU
Затем закрепите коробку на пластине, используя 4
плоские шайбы, 4 шайбы Гровера из нержавеющей
стали и 4 болта с шестигранной головкой из
нержавеющей стали (А4 класс 70) M10x30mm,
входящие в комплектацию.
Рис. 5
Убедитесь, что на резьбе нет грязи.
Введите достаточное количество фиксатора
резьбы (Loctite 270) в 4 резьбовых отверстия на
пластине.
Затяните винты.
Будьте внимательны при монтаже.
Момент затяжки: 35Nm.
Оставьте герметик застывать в течение одного
часа; не забудьте выждать указанное количество
времени до завершения установки.
7 Технические
характеристики
7.1 Механические хар.
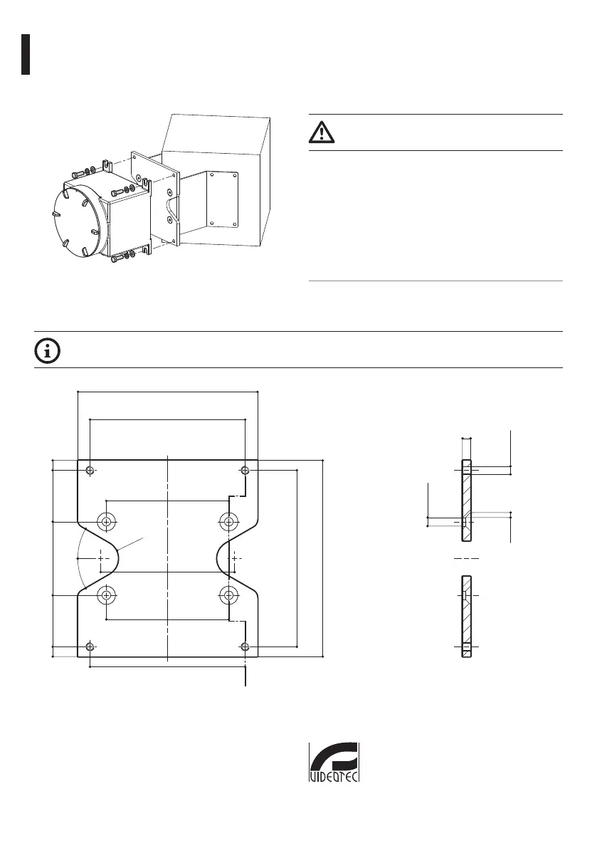
Размеры: 220x240x10mm
8 Технические чертежи
Размеры указаны в миллиметрах.
SECTION A-A
A
A
220
190
150
164
150
190
240
216
9063 63
R22.5
30°
30°
12 12
10.5 n°4
10
M10 n°4 6 x 45°
Рис. 6 MBXMP.
Headquarters Italy Videotec S.p.A.
Via Friuli, 6 - I-36015 Schio (VI) - Italy
Tel. +39 0445 697411 - Fax +39 0445 697414
Email: info@videotec.com
www.videotec.com
Bekijk gratis de handleiding van Videotec MBXMP, stel vragen en lees de antwoorden op veelvoorkomende problemen, of gebruik onze assistent om sneller informatie in de handleiding te vinden of uitleg te krijgen over specifieke functies.
Productinformatie
| Merk | Videotec |
| Model | MBXMP |
| Categorie | Niet gecategoriseerd |
| Taal | Nederlands |
| Grootte | 3181 MB |







