Videotec MBXMP handleiding
Handleiding
Je bekijkt pagina 20 van 32

RU - Русский - Руководство по эксплуатации
2 MNVKMBXMP_1926_RU
5 Подготовка устройства к
использованию
Любое изменение, которое выполняется
без разрешения, явным образом
предоставленного производителем,
аннулирует гарантию.
5.1 Распаковка
При получении устройства убедитесь, что упаковка не
повреждена и не имеет явных признаков падения или царапин.
В случае наличия видимых повреждений незамедлительно
свяжитесь с поставщиком.
В случае возврата неисправного устройства мы рекомендуем
использовать оригинальную упаковку для транспортировки.
Сохраняйте упаковку на случай, если потребуется отправить
устройство на ремонт.
5.2 Безопасная утилизация
упаковочных материалов
Упаковочные материалы могут подвергаться
переработке. Технический специалист
установщика отвечает за сортировку материалов
для переработки, а также за соблюдение
требований законодательства, действующего в
месте установки устройства.
5.3 Комплект оборудования
Проверьте комплект оборудования на
соответствие представленному ниже списку
материалов:
• Крепежная пластина
• Болты и винты
• Руководство по эксплуатации
5.4 Подготовительные работы
перед установкой
Выбирайте место для установки, поверхность
которого достаточно прочная и способна
выдержать вес устройства, при этом
необходимо помнить об особых факторах
окружающей среды, например, воздействии
сильного ветра
.
Устройство необходимо устанавливать
таким образом, чтобы избежать нанесения
травм движущимися частями оборудования.
Также при установке следует проверить,
чтобы движущиеся части не задевали другие
предметы и не создавали опасные ситуации
.
Пред тем как включить питание,
убедитесь в том, что устройство надежно
зафиксировано.
Техническое обслуживание должно
проводиться только уполномоченным
техническим персоналом.
Поскольку пользователь самостоятельно
выбирает поверхность, на которой
будет закреплено устройство, мы
не предоставляем крепежные
приспособления для надежной фиксации
оборудования на определенной
поверхности. За выбор крепежных
приспособлений, подходящих для
соответствующей поверхности, отвечает
установщик.
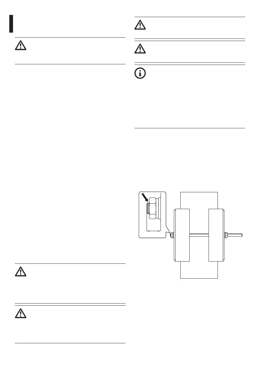
6 Монтаж
6.1 Крепление на мачтовом
кронштейне
Установите мачтовый кронштейн, следя за
тем, чтобы гайка со стороны установки была
минимального размера (12mm макс.).
12mm
Рис. 1
Bekijk gratis de handleiding van Videotec MBXMP, stel vragen en lees de antwoorden op veelvoorkomende problemen, of gebruik onze assistent om sneller informatie in de handleiding te vinden of uitleg te krijgen over specifieke functies.
Productinformatie
| Merk | Videotec |
| Model | MBXMP |
| Categorie | Niet gecategoriseerd |
| Taal | Nederlands |
| Grootte | 3181 MB |







