Videotec MBXMP handleiding
Handleiding
Je bekijkt pagina 18 van 32

DE - Deutsch - Bedienungsanleitung
4 MNVKMBXMP_1926_DE
Dann den Kasten auf der Platte befestigen.
Hierzu die im Lieferumfang enthaltenen 4 achen
Unterlegscheiben, die 4 Federringe aus Edelstahl und
die 4 Sechskantschrauben aus Edelstahl (A4 Klasse
70) M10x30mm verwenden.
Abb. 5
Sicherstellen, dass die Gewinde ohne Schmutz und
Rückstände sind.
Reichlich Gewindesicherungsmittel (Loctite 270) auf
die 4 Gewindeönungen der Platte aufbringen.
Schrauben festziehen.
Auf die Befestigung achten.
Anzugsdrehmoment: 35Nm.
Die Schraubensicherung eine Stunde lang wirken
lassen, dann die Installation beenden.
7 Technische Daten
7.1 Mechanik
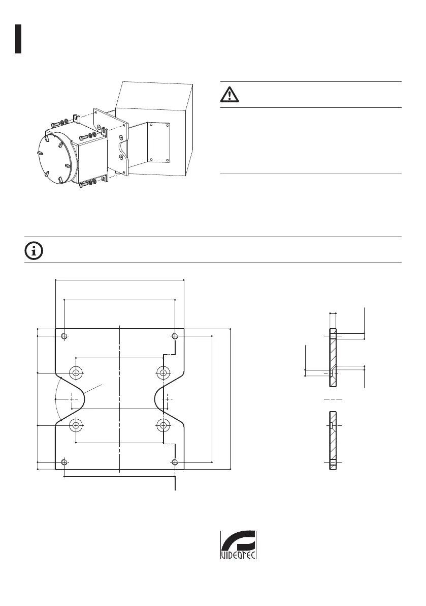
Abmessungen: 220x240x10mm
8 Technische Zeichnungen
Die Maße sind in Millimetern angegeben.
SECTION A-A
A
A
220
190
150
164
150
190
240
216
9063 63
R22.5
30°
30°
12 12
10.5 n°4
10
M10 n°4 6 x 45°
Abb. 6 MBXMP.
Headquarters Italy Videotec S.p.A.
Via Friuli, 6 - I-36015 Schio (VI) - Italy
Tel. +39 0445 697411 - Fax +39 0445 697414
Email: info@videotec.com
www.videotec.com
Bekijk gratis de handleiding van Videotec MBXMP, stel vragen en lees de antwoorden op veelvoorkomende problemen, of gebruik onze assistent om sneller informatie in de handleiding te vinden of uitleg te krijgen over specifieke functies.
Productinformatie
| Merk | Videotec |
| Model | MBXMP |
| Categorie | Niet gecategoriseerd |
| Taal | Nederlands |
| Grootte | 3181 MB |







