Videotec MBXMP handleiding
Handleiding
Je bekijkt pagina 17 van 32

Bedienungsanleitung - Deutsch - DE
3MNVKMBXMP_1926_DE
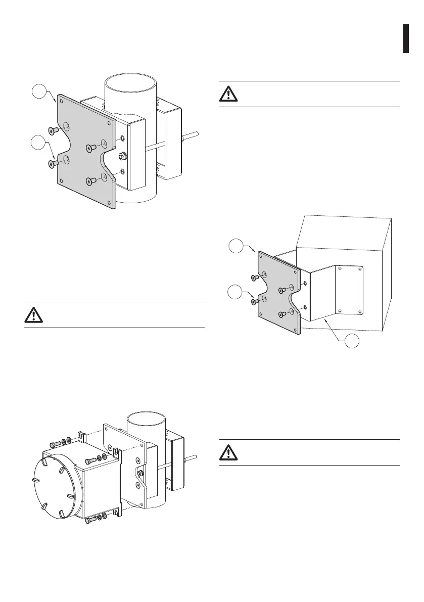
Die Halterungsplatte (01) am Wandhalterungsbügel
befestigen. Hierzu die 4 achen, mitgelieferten
Senkschrauben (02) mit Innensechskant M10x20mm
aus Edelstahl (A4 Klasse 70) verwenden.
01
02
Abb. 2
Sicherstellen, dass die Gewinde ohne Schmutz und
Rückstände sind.
Reichlich Gewindesicherungsmittel (Loctite 270) auf
die 4 Gewindeönungen des Wandhalterungsbügels
auftragen.
Schrauben festziehen.
Auf die Befestigung achten.
Anzugsdrehmoment: 35Nm.
Die Schraubensicherung eine Stunde lang wirken
lassen, dann die Installation beenden.
Dann den Kasten auf der Platte befestigen.
Hierzu die im Lieferumfang enthaltenen 4 achen
Unterlegscheiben, die 4 Federringe aus Edelstahl und
die 4 Sechskantschrauben aus Edelstahl (A4 Klasse
70) M10x30mm verwenden.
Abb. 3
Sicherstellen, dass die Gewinde ohne Schmutz und
Rückstände sind.
Reichlich Gewindesicherungsmittel (Loctite 270) auf
die 4 Gewindeönungen der Platte aufbringen.
Schrauben festziehen.
Auf die Befestigung achten.
Anzugsdrehmoment: 35Nm.
Die Schraubensicherung eine Stunde lang wirken
lassen, dann die Installation beenden.
6.2 Befestigung mit
Winkeladapter
Die Halterungsplatte (01) am Winkelmodul (02)
befestigen. Hierzu die 4 achen, mitgelieferten
Senkschrauben (03) mit Innensechskant M10x20mm
aus Edelstahl (A4 Klasse 70) verwenden.
01
03
02
Abb. 4
Sicherstellen, dass die Gewinde ohne Schmutz und
Rückstände sind.
Reichlich Gewindesicherungsmittel (Loctite 270) auf
die 4 Gewindeönungen des Wandhalterungsbügels
auftragen.
Schrauben festziehen.
Auf die Befestigung achten.
Anzugsdrehmoment: 35Nm.
Die Schraubensicherung eine Stunde lang wirken
lassen, dann die Installation beenden.
Bekijk gratis de handleiding van Videotec MBXMP, stel vragen en lees de antwoorden op veelvoorkomende problemen, of gebruik onze assistent om sneller informatie in de handleiding te vinden of uitleg te krijgen over specifieke functies.
Productinformatie
| Merk | Videotec |
| Model | MBXMP |
| Categorie | Niet gecategoriseerd |
| Taal | Nederlands |
| Grootte | 3181 MB |







