Videotec MBXMP handleiding
Handleiding
Je bekijkt pagina 10 van 32

IT - Italiano - Manuale di istruzioni
4 MNVKMBXMP_1926_IT
Fissare poi la cassetta sulla piastra utilizzando le 4
rondelle piane, 4 rondelle grower in acciaio inox e 4
viti a testa esagonale in acciaio inox (A4 classe 70) da
M10x30mm fornite in dotazione.
Fig. 5
Assicurarsi che le lettature siano prive di sporcizia e
residui.
Applicare una buona quantita di frenaletti (Loctite
270) sui 4 fori lettati presenti sulla piastra.
Serrare le viti.
Prestare attenzione durante il ssaggio.
Coppia di serraggio: 35Nm.
Lasciare agire il frenaletti per un’ora prima di
ultimare l’installazione.
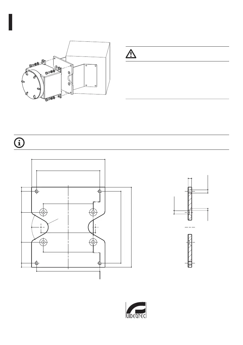
7 Dati tecnici
7.1 Meccanica
Dimensioni: 220x240x10mm
8 Disegni tecnici
Le misure indicate sono espresse in millimetri.
SECTION A-A
A
A
220
190
150
164
150
190
240
216
9063 63
R22.5
30°
30°
12 12
10.5 n°4
10
M10 n°4 6 x 45°
Fig. 6 MBXMP.
Headquarters Italy Videotec S.p.A.
Via Friuli, 6 - I-36015 Schio (VI) - Italy
Tel. +39 0445 697411 - Fax +39 0445 697414
Email: info@videotec.com
www.videotec.com
Bekijk gratis de handleiding van Videotec MBXMP, stel vragen en lees de antwoorden op veelvoorkomende problemen, of gebruik onze assistent om sneller informatie in de handleiding te vinden of uitleg te krijgen over specifieke functies.
Productinformatie
| Merk | Videotec |
| Model | MBXMP |
| Categorie | Niet gecategoriseerd |
| Taal | Nederlands |
| Grootte | 3181 MB |







