Vevor SC-7304 handleiding
Handleiding
Je bekijkt pagina 79 van 96

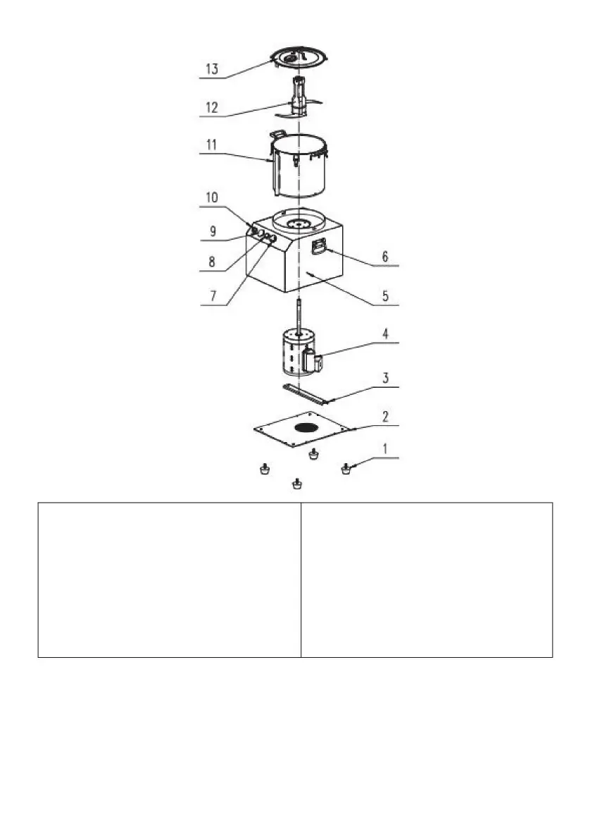
Demontage
4.Motor
5. Gastheer
11. BoogI
12. Messenset
8.Startschakelaar
10.Aan/uit-schakelaar
9.Timer (alleen SC15 heeft dit)
1. Voeten
2. Bodempaneel 3.
Motorbeugel
Nadat u het materiaal hebt gehakt, pakt u de handgreep van de kom vast, draait u deze met de klok mee
en tilt u deze met kracht omhoog.
6.Host-handle
7.Noodstopschakelaar
13. Dekking
Let op: Haal het mes niet apart uit. Houd het stil in de
- 6 -
Machine Translated by Google
Bekijk gratis de handleiding van Vevor SC-7304, stel vragen en lees de antwoorden op veelvoorkomende problemen, of gebruik onze assistent om sneller informatie in de handleiding te vinden of uitleg te krijgen over specifieke functies.
Productinformatie
| Merk | Vevor |
| Model | SC-7304 |
| Categorie | Niet gecategoriseerd |
| Taal | Nederlands |
| Grootte | 9168 MB |







