Vevor SC-7304 handleiding
Handleiding
Je bekijkt pagina 43 van 96

- 6 -
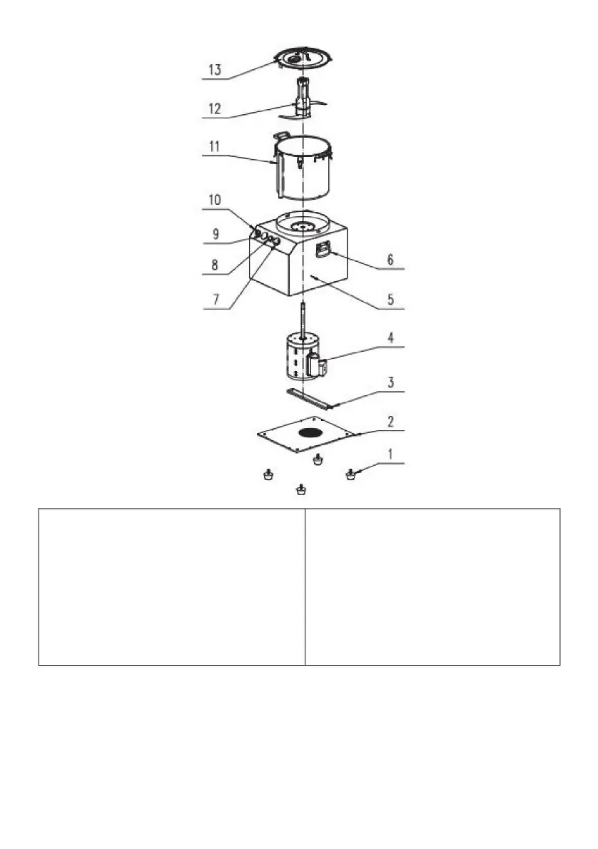
5.Ospitare
4.Motore
11.Arco
13.Copertina
8. Interruttore di avvio
10.Interruttore di alimentazione
9. Timer (solo SC15 lo ha)
1. Piedini
2. Pannello inferiore
3. Staffa motore
6. Maniglia host 7.
Interruttore di arresto di emergenza
Attenzione: non estrarre la lama separatamente. Tenerla ferma nella
Dopo aver tritato il materiale, afferrare il manico della ciotola, ruotarlo in senso orario e sollevarlo con
forza.
12.Set di coltelli
Smontaggio
Machine Translated by Google
Bekijk gratis de handleiding van Vevor SC-7304, stel vragen en lees de antwoorden op veelvoorkomende problemen, of gebruik onze assistent om sneller informatie in de handleiding te vinden of uitleg te krijgen over specifieke functies.
Productinformatie
| Merk | Vevor |
| Model | SC-7304 |
| Categorie | Niet gecategoriseerd |
| Taal | Nederlands |
| Grootte | 9168 MB |







