Vevor RC-2005F handleiding
Handleiding
Je bekijkt pagina 24 van 56

Anello di tenuta
Funzionamento manuale:
Applicazione:
1
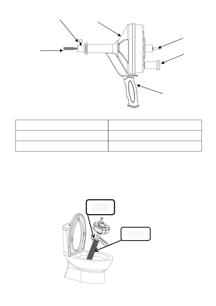
1. Manico dell'utensile
5
2. Bullone antirotazione
6
3
4
2
6. Adattatore per trapano
5. Manovella
Impianti idraulici per cucine e bagni: lavabi, lavandini, WC e scarichi a pavimento.
4. Camera di stoccaggio
3. Pulizia di primavera
- 2 -
Soffietto
Machine Translated by Google
Bekijk gratis de handleiding van Vevor RC-2005F, stel vragen en lees de antwoorden op veelvoorkomende problemen, of gebruik onze assistent om sneller informatie in de handleiding te vinden of uitleg te krijgen over specifieke functies.
Productinformatie
| Merk | Vevor |
| Model | RC-2005F |
| Categorie | Niet gecategoriseerd |
| Taal | Nederlands |
| Grootte | 4838 MB |







