Vevor RC-2005F handleiding

56 pagina's
PDF beschikbaar

Handleiding

Je bekijkt pagina 17 van 56
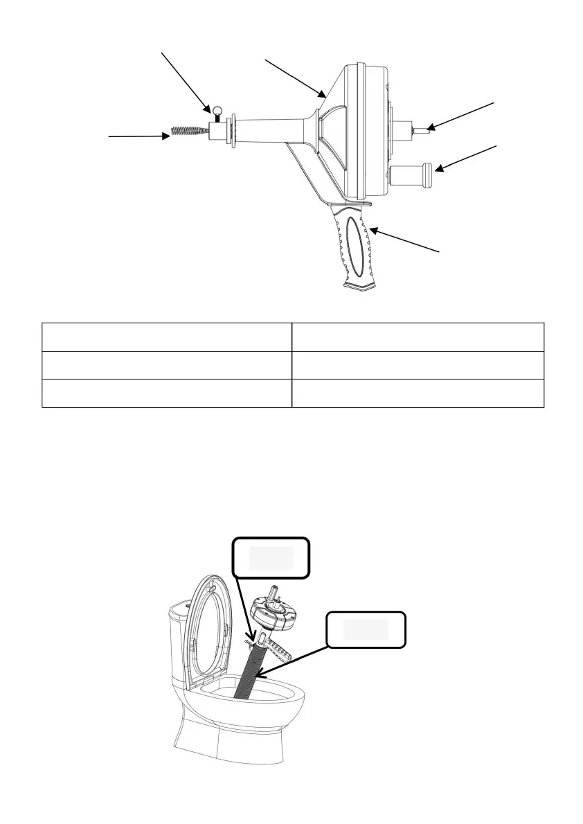
Manuelle Bedienung:
Anwendung:
O-Ring
5
1
1. Werkzeuggriff
5. Kurbelgriff
4
3
6
2
3. Reinigungsfeder
2. Antirotationsbolzen
4. Lagerkammer
Sanitärinstallationen in Küche und Bad: Waschbecken, Spülbecken, Toiletten und Bodenabläufe.
6. Bohreradapter
- 2 -
Balg
Machine Translated by Google

Bekijk gratis de handleiding van Vevor RC-2005F, stel vragen en lees de antwoorden op veelvoorkomende problemen, of gebruik onze assistent om sneller informatie in de handleiding te vinden of uitleg te krijgen over specifieke functies.

Productinformatie

MerkVevor
ModelRC-2005F
CategorieNiet gecategoriseerd
TaalNederlands
Grootte4838 MB