Vevor RC-2005F handleiding
Handleiding
Je bekijkt pagina 10 van 56

Jointtorique
Application:
Fonctionnementmanuel:
1
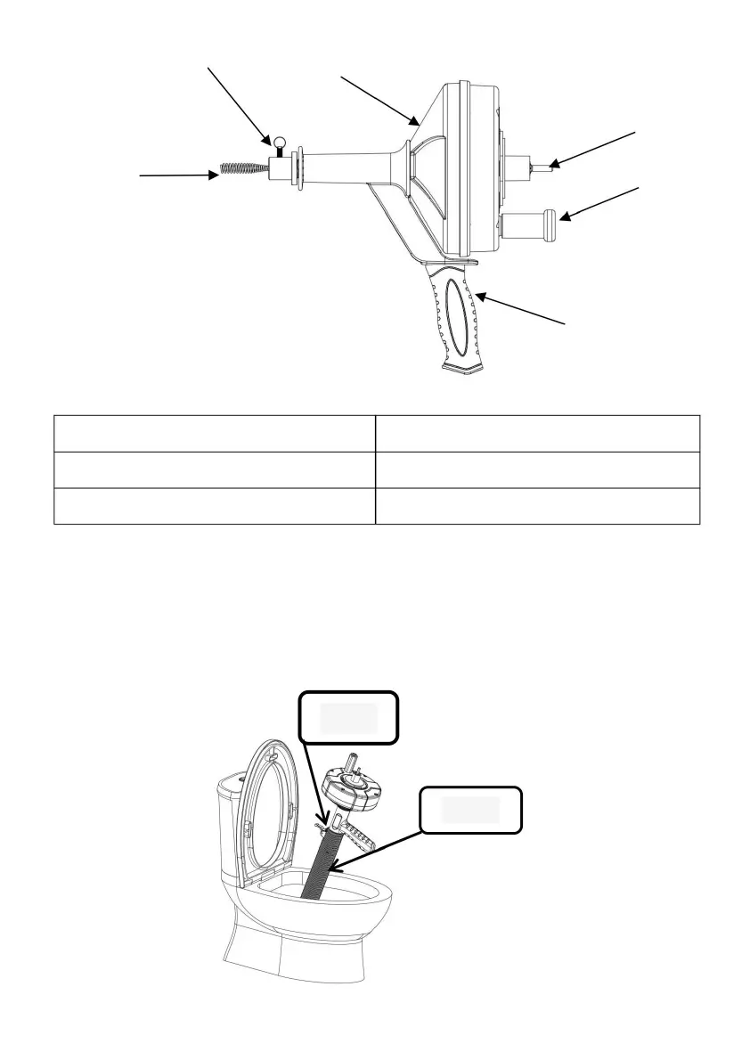
1.Manchedel'outil
5
2.Boulonantirotation
4
3
6
2
4.Chambredestockage
6.Adaptateurdeforet
Plomberiecuisineetsalledebain:lavabos,évier,toilettesetsiphonsdesol.
3.Nettoyageduressort
5.Manivelle
2
Soufflet
Machine Translated by Google
Bekijk gratis de handleiding van Vevor RC-2005F, stel vragen en lees de antwoorden op veelvoorkomende problemen, of gebruik onze assistent om sneller informatie in de handleiding te vinden of uitleg te krijgen over specifieke functies.
Productinformatie
| Merk | Vevor |
| Model | RC-2005F |
| Categorie | Niet gecategoriseerd |
| Taal | Nederlands |
| Grootte | 4838 MB |







