Vevor IB350CV handleiding

128 pagina's
PDF beschikbaar

Handleiding

Je bekijkt pagina 72 van 128
7
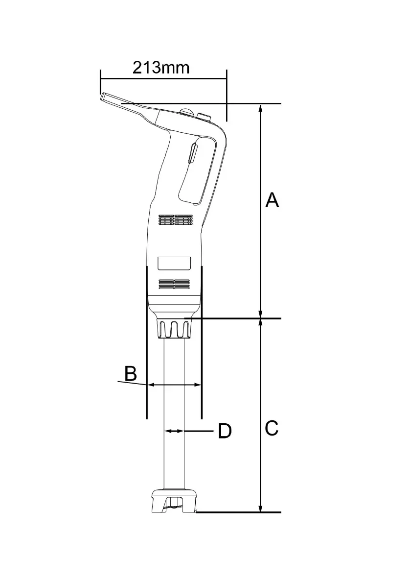
PARÁMETROSTÉCNICOSPRINCIPALES
Machine Translated by Google

Bekijk gratis de handleiding van Vevor IB350CV, stel vragen en lees de antwoorden op veelvoorkomende problemen, of gebruik onze assistent om sneller informatie in de handleiding te vinden of uitleg te krijgen over specifieke functies.

Productinformatie

MerkVevor
ModelIB350CV
CategorieBlender
TaalNederlands
Grootte8898 MB