Vevor GS-E handleiding
Handleiding
Je bekijkt pagina 89 van 96

justerbar skiftnyckel för att säkerställa att alla fästen är säkra.
med kompatibla bänkslipmaskiner.
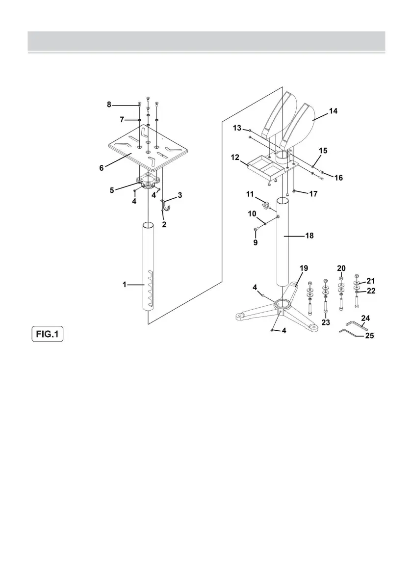
4.1. MONTERING AV STÄLLEN (FIG.1)
4.1.1. Skjut in stående (18) i basen (19) använd stiftskruvarna M10 x 10 (4) för att fästa.
OBS: Dra åt muttrar och bultar med fingrarna vid montering. När den är monterad, använd en
VARNING! Detta stativ måste installeras på fast plan mark och i kombination
saknas, kontakta din VEVOR-återförsäljare omedelbart.
Innan du börjar, separera alla delar och gruppera efter storlek och stil. Om några delar finns
med självgängande skruvar ST6,3 x 16 (17). Skjut den färdiga enheten över stående (18).
Använd platt M6 zinkbricka (15), insexskruvar M6 x 20 zink (16) och stål
4.1.2. Fäst förvaringsfacket för slipskivor (14) på tillbehörsfacket (12)
muttrar M6 zink (13) för att fästa.
- 4 -
Siffrorna hänvisar till bifogad reservdelslista.
MONTERING
Machine Translated by Google
Bekijk gratis de handleiding van Vevor GS-E, stel vragen en lees de antwoorden op veelvoorkomende problemen, of gebruik onze assistent om sneller informatie in de handleiding te vinden of uitleg te krijgen over specifieke functies.
Productinformatie
| Merk | Vevor |
| Model | GS-E |
| Categorie | Niet gecategoriseerd |
| Taal | Nederlands |
| Grootte | 9652 MB |







