Vevor GS-E handleiding
Handleiding
Je bekijkt pagina 77 van 96

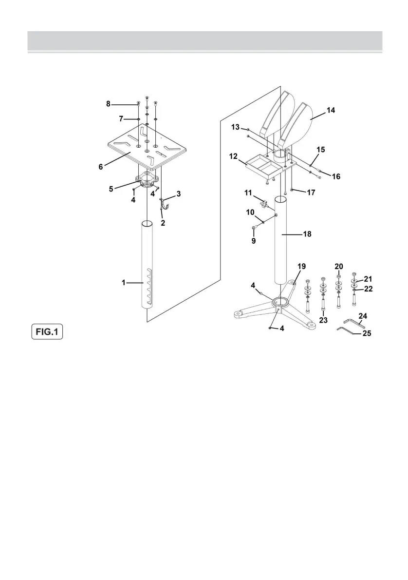
De nummers verwijzen naar de bijgevoegde onderdelenlijst.
- 4 -
WAARSCHUWING! Deze standaard moet op een stevige, vlakke ondergrond worden geïnstalleerd en in combinatie met
4.1. MONTAGE VAN DE STANDAARD (FIG.1)
met compatibele bankslijpmachines.
Gebruik een platte M6 zinkring (15), zeskantkopstelschroeven M6 x 20 zink (16) en staal
OPMERKING: draai moeren en bouten met de hand vast bij het monteren. Gebruik na montage een
verstelbare sleutel om ervoor te zorgen dat alle bevestigingen goed vastzitten.
Als er een artikel ontbreekt, neem dan onmiddellijk contact op met uw VEVOR-leverancier.
Voordat u begint, scheidt u alle onderdelen en groepeert u ze op grootte en stijl. Als er onderdelen zijn
met zelftappende schroeven ST6,3 x 16 (17). Schuif de voltooide eenheid over de staander (18).
moeren M6 zink (13) bevestigen.
4.1.2. Bevestig het opbergvak voor de slijpschijf (14) aan de accessoirebak (12)
4.1.1. Schuif de staander (18) in de basis (19) en gebruik stelschroeven M10 x 10 (4) om deze vast te zetten.
MONTAGE
Machine Translated by Google
Bekijk gratis de handleiding van Vevor GS-E, stel vragen en lees de antwoorden op veelvoorkomende problemen, of gebruik onze assistent om sneller informatie in de handleiding te vinden of uitleg te krijgen over specifieke functies.
Productinformatie
| Merk | Vevor |
| Model | GS-E |
| Categorie | Niet gecategoriseerd |
| Taal | Nederlands |
| Grootte | 9652 MB |







